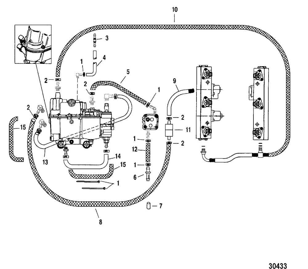
| № | Наименование | Примечание | Кол-во |
|---|---|---|---|
| 1 | TIE STRAP @100 (100 per pack) | 0 | |
| 2 | CLAMP | 5 | |
| 3 | CONNECTOR | 1 | |
| 4 | HOSE-57 INCH | 1 | |
| 5 | HOSEMOLDEDPULSE | 1 | |
| 6 | CONNECTOR | 1 | |
| 8 | HOSE ASSY | 1 | |
| 9 | ORD 32-8M6001914 | 1 | |
| 10 | ORD 32-8M6001755 | 1 | |
| 11 | VALVE-CHECK | 1 | |
| 12 | HOSE/SLEEVE ASSY | 1 | |
| 13 | HOSE | 1 | |
| 14 | HOSE | 1 | |
| 15 | SLEEVE-27 INCH | 2 |
