| № | Наименование | Примечание | Кол-во |
|---|---|---|---|
| - | GASKET SET (XR4/Magnum II/175) | 1 | |
| - | GASKET SET (200) | 1 | |
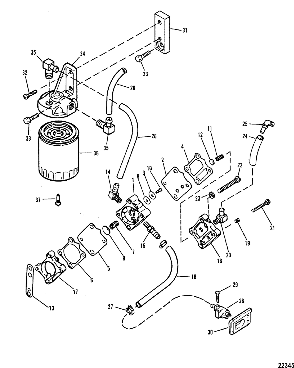
| 1 | PUMP KIT-FUEL | 1 | |
| 2 | DIAPHRAM KIT | 1 | |
| 13 | GASKET | 1 | |
| 14 | FITTING | 1 | |
| 15 | FITTING | 1 | |
| 16 | HOSE-70 INCH | 1 | |
| 17 | BASE | 1 | |
| 18 | PLATE-CHAMBER | 1 | |
| 19 | PLUG-PIPE | 1 | |
| 20 | FITTING | 1 | |
| 21 | SCREW | 2 | |
| 22 | SCREW @5 (5 per pack) | 2 | |
| 23 | WASHER @5 (5 per pack) | 2 | |
| 24 | FUEL LINE | 1 | |
| 25 | ELBOW | 1 | |
| 26 | TUBING-33 INCH | 2 | |
| 27 | TIE STRAP @100 (100 per pack) | 0 | |
| 28 | CONNECTOR @2 (2 per pack) | 1 | |
| 29 | SCREW @5 (5 per pack) | 1 | |
| 30 | SEAL | 1 | |
| 31 | ORD 13170A 3 | 1 | |
| 33 | SCREW @5 (5 per pack) | 2 | |
| 34 | BASE KT-FUEL FILT (Design I) | 1 | |
| 35 | FITTING | 2 | |
| 36 | FILTER KIT-FUEL | 1 | |
| 37 | PROBE SNtahos_ 0G303045 & Below | 1 |
