| № | Наименование | Примечание | Кол-во |
|---|---|---|---|
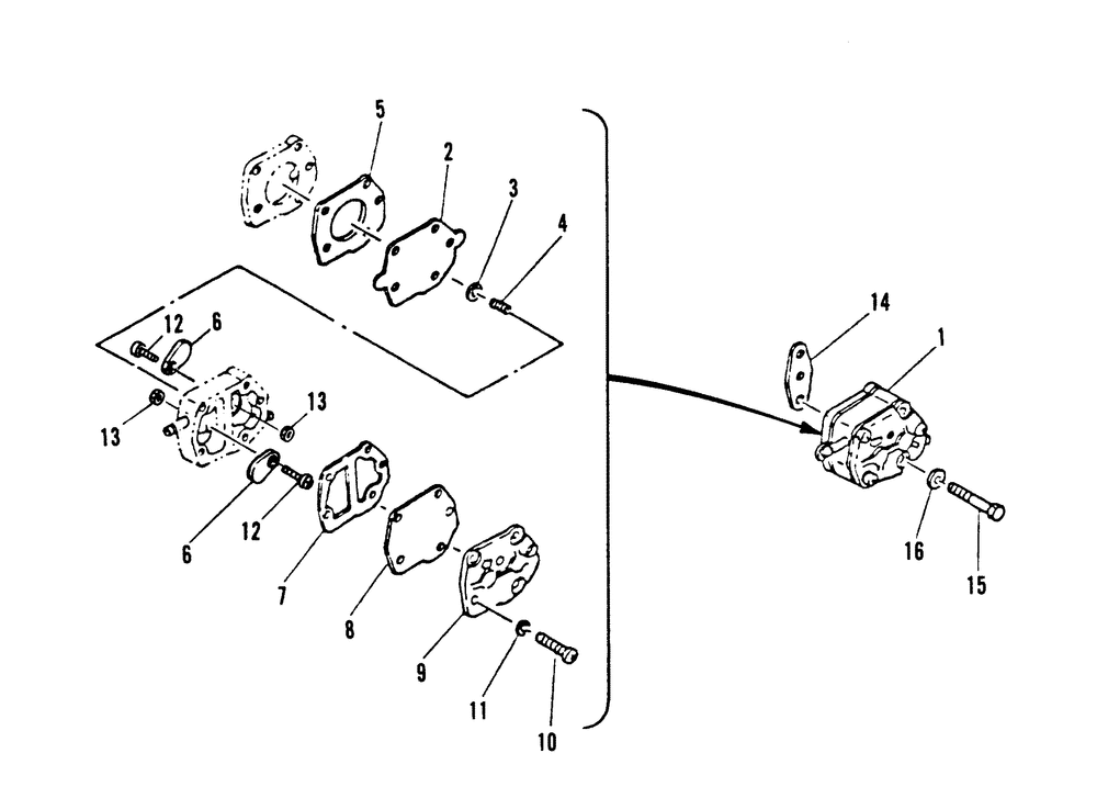
| 1 | FUEL PUMP | 1 | |
| 2 | DIAPHRAGM | 1 | |
| 3 | PLATE | 1 | |
| 4 | SPRING @5 (5 per pack) | 1 | |
| 5 | GASKET @2 (2 per pack) | 1 | |
| 6 | VALVE-CHECK SERIAL 00000000-00002350 | 2 | |
| 7 | GASKET | 1 | |
| 8 | DIAPHRAGM | 1 | |
| 9 | COVER | 1 | |
| 10 | SCREW | 3 | |
| 11 | LOCKWASHER @5 SERIAL 00000000-00008215 (5 per pack) | 3 | |
| 12 | SCREW SERIAL 00000000-00002350 | 2 | |
| 13 | NUT @5 (5 per pack) | 2 | |
| 14 | GASKET @5 (5 per pack) | 1 | |
| 15 | BOLT | 2 | |
| 16 | WASHER @5 SERIAL 00008216-09999999 (5 per pack) | 2 |
