| № | Наименование | Примечание | Кол-во |
|---|---|---|---|
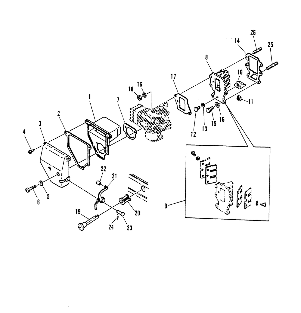
| - | GASKET SET (M-062458 ML-336233 E-252703 EL-553588 & BELOW) | 1 | |
| - | GASKET SET (M-062459 ML-336234 E-252704 EL-553589 & UP) | 1 | |
| 1 | COVER | 1 | |
| 2 | GASKET | 1 | |
| 3 | COVER | 1 | |
| 4 | SCREW | 2 | |
| 5 | WASHER @5 (5 per pack) | 2 | |
| 6 | SCREW | 2 | |
| 7 | GASKET | 1 | |
| 8 | REED VALVE (M-062459 ML-336234 E-252704 EL-553589 & Up) | 1 | |
| 8 | REED VALVE (M-062458 ML-336233 E-252703 EL-553588 & Below) | 1 | |
| 9 | REED KIT | 1 | |
| 10 | SPACER | 1 | |
| 11 | NUT @2 (2 per pack) | 1 | |
| 12 | BOLT SNtahos_ M-131232 & Up | 1 | |
| 13 | WASHER @5 SERIAL 00008216-09999999 (5 per pack) | 1 | |
| 14 | GASKET (M-062458 ML-336233 E-252703 EL-553588 & Below) | 1 | |
| 15 | BOLT | 4 | |
| 17 | GASKET | 1 | |
| 18 | NUT @2 (2 per pack) | 2 | |
| 19 | CHOKE KNOB | 1 | |
| 20 | GROMMET | 1 | |
| 21 | CHOKE LEVER | 1 | |
| 22 | BUSHING | 1 | |
| 23 | PIN SERIAL 00000000-00033627 | 1 | |
| 24 | PIN-COTTER @5 (5 per pack) | 1 | |
| 25 | STUD | 1 | |
| 26 | STUD SERIAL 00000000-00021180 | 1 |
