Оригинальные каталоги
Масла и жидкости
Масла моторные
Масла трансмиссионные
Жидкости гидравлические
Жидкости охлаждающие
Жидкости тормозные
Масла гидравлические
Масла для вилок и амортизаторов
Масла компрессорные
Жидкости для стекол
Масла для цепей бензопил
Масла индустриальные
Масла промывочные
Раствор мочевины AdBlue
Автоэлектроника
Видеорегистраторы
Пылесосы автомобильные
FM трансмиттеры
Зарядные устройства
Разветвители, удлинители прикуривателя
Кабели
Вентиляторы автомобильные
Штекер прикуривателя
Датчик парктроника
Камеры заднего вида
Мониторы парковочные
Парктроники
Термометры
Накидки на сиденье с подогревом
Автохолодильники
Антирадары
Диагностический сканер
Аксессуары
Набор автомобилиста
Ароматизаторы
Тросы буксировочные
Канистры
Ремни крепления груза
Стяжки-резинки крепления
Сетки для крепления груза
Скотч
Влажные салфетки
Держатели телефонов, планшетов
Карты памяти
Наушники
Аккумулятор холода
Термосумки и контейнеры
Фонарики
Батарейки
Оплетки на руль
Огнетушители
Салфетки, полотенца, варежки
Инструмент
Домкраты
Компрессоры
Манометры
Насосы
Светильники переносные
Шарнирно-губцевый инструмент
Ударный инструмент
Метчики. Плашки
Заклёпочники
Заклёпки
Измерительный инструмент
Свёрла
Отвёртки
Изолента
Надфили. Напильники
Ножи, ножовки
Щётки
Абразивная бумага
Специнструмент
Ключи
Хомуты
Дрель-шуруповерт
Автохимия
Присадки
Промывки
Очистители
Смазки спрей
Смазки пластичные
Герметики
Средство для рук
Клей
Лакокрасочные материалы
Автошампуни
Полироли
Антифриз для тормозной системы
Масло для пропитки фильтров
Антикоррозионные составы
Прочее
Электрооборудование
Зарядные устройства
Инверторы
Конвертеры
Звуковые сигналы
Провода прикуривания
Предохранители
Противотуманные фары
Дневные ходовые огни
Электрика фаркопа
Шины и диски
Автошины
Грузовые шины
Мотошины
Камеры
Мотокамеры
Лента обода шины
Колпаки
Диски
Одежда и экипировка
Жилеты
Запчасти
Аккумуляторы
Лампы
Щетки стеклоочистителя
Гофры глушителя
Велотовары
Велосипеды
Самокаты
Велокамеры
Искать по VIN или номеру детали
Поиск по штрих-коду
Искать по VIN-номеру
Войти
Авторизация
Логин
Пароль
Напомнить пароль
Запомнить
Войти
Зарегистрироваться
Авторизоваться другим способом
Востановить пароль
Введите ваш email:
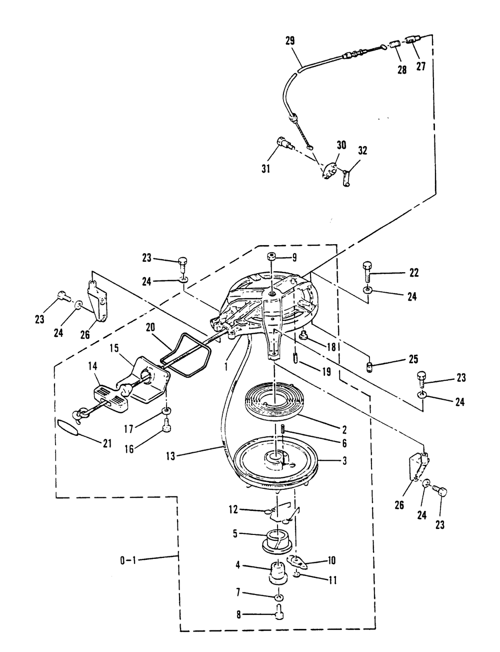
RECOIL STARTER
Корзина пуста
Mariner
15C E-684-250101 AND UP
15C E-684-250101 AND UP
RECOIL STARTER
№
Наименование
Примечание
Кол-во
0-1
STARTER ASSY (M-020026 ML-316416 E-251061 EL-551616 & UP)
1
1
STARTER HOUSING M-000616 ML-304996 AND ABOVE
1
2
SPRING (M-001375 ML-317964 AND BELOW)
1
2
SPRING (M-001376 ML-317965 AND ABOVE)
1
3
STARTER SHEAVE
1
4
SHAFT M-001376 ML-317965 AND ABOVE
1
4
SHAFT M-001375 ML-317964 AND BELOW
1
5
BUSHING M-001375 ML-317964 AND BELOW
1
6
PIN-ROLL @5 (5 per pack)
1
7
WASHER
1
8
BOLT SERIAL 00000000-00008215
1
8
SCREW @5 (5 per pack)
1
9
NUT @2 (2 per pack)
1
10
PAWL
1
11
SNAP RING
1
12
SPRING (M-001375 ML-317964 AND BELOW)
1
12
SPRING (M-001376 ML-317965 AND ABOVE)
1
13
ROPE-STARTR @2 (2 per pack)
1
14
HANDLE KIT
1
15
GUIDE (M-020025 ML-316415 E-251060 EL-551615 & BELOW)
1
15
GUIDE (M-020026 ML-316416 E-251061 EL-551616 & UP)
1
16
BOLT
2
17
WASHER @5 SERIAL 00008216-09999999 (5 per pack)
2
18
PLUG
1
19
PIN-ROLL
1
20
SEAL
1
21
ORD 814491A 1 SERIAL 00002351-09999999
1
25
PIN-DOWEL
1
26
BRACKET (M-020025 ML-316415 E-251060 EL-551615 & BELOW)
2
26
STAY (M-020026 ML-316416 E-251061 EL-551616 & UP)
2
27
PLUNGER
1
28
SPRING
1
29
CABLE
1
30
ARM
1
31
BOLT
1
32
LINK
1