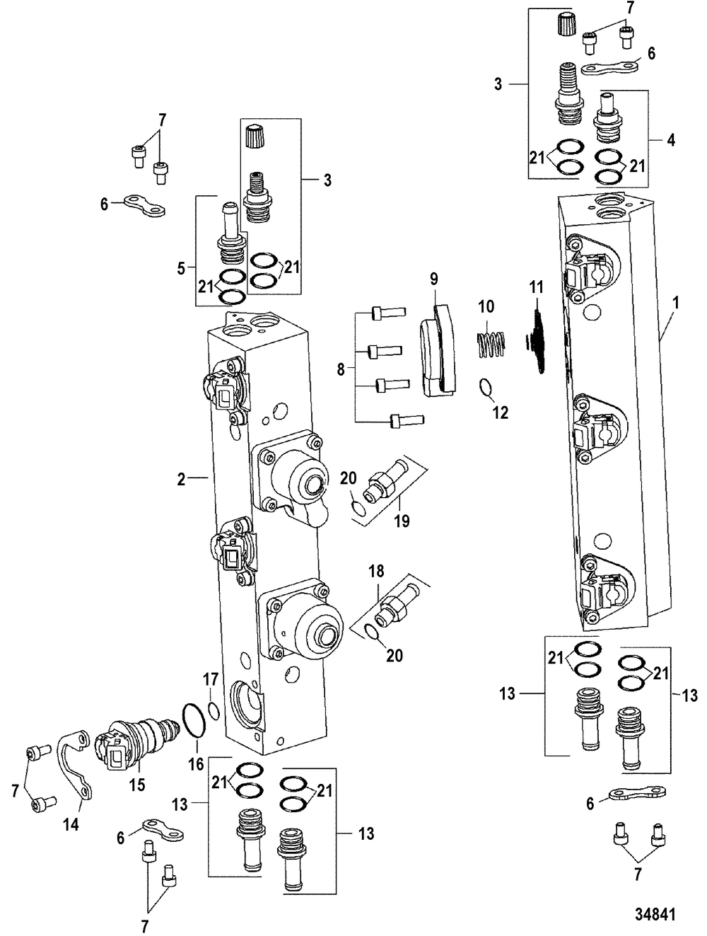
| № | Наименование | Примечание | Кол-во |
|---|---|---|---|
| 1 | FUEL RAIL-STBD | 1 | |
| 2 | FUEL RAIL-PORT | 1 | |
| 3 | VALVE KT-SCHRADER | 2 | |
| 4 | FITTING-AIR INLET | 1 | |
| 5 | FITTING-FUELINLET | 1 | |
| 6 | CLAMP-AXIAL RAIL | 4 | |
| 7 | ORD 8M0041100 | 10 | |
| 8 | SCREW PKG (2) | 4 | |
| 9 | COVER | 1 | |
| 10 | SPRING | 1 | |
| 11 | DIAPHRAGM ASSY | 1 | |
| 12 | O RING | 1 | |
| 13 | FITTING-STBD | 2 | |
| 14 | RETAINER | 6 | |
| 15 | INJECTOR-FUEL | 6 | |
| 16 | O-RING KIT(6 PCS) | 1 | |
| 17 | O-RING KIT(6 PCS) | 1 | |
| 18 | FITTING-AIR BYPAS | 2 | |
| 19 | FITTING-FUEL BYPA | 1 | |
| 20 | O RING | 1 | |
| 21 | O RING KIT | 1 |
