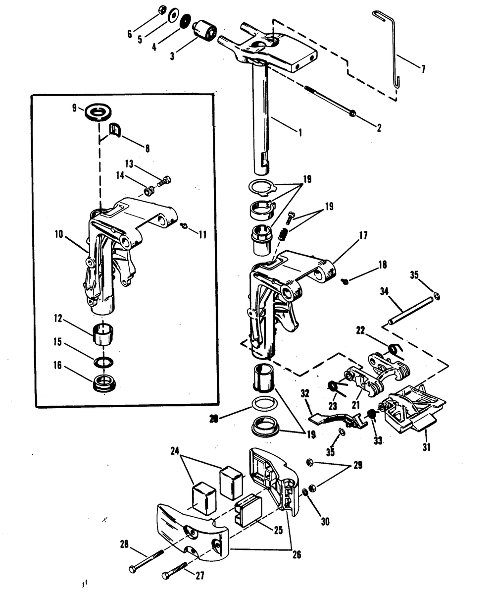
| № | Наименование | Примечание | Кол-во |
|---|---|---|---|
| - | GASKET SET | 0 | |
| 1 | SWIVEL HEAD ASSY | 1 | |
| 1 | SWIVEL HEAD ASSY | 1 | |
| 2 | SCREW | 2 | |
| 3 | MOUNT | 2 | |
| 4 | WASHER @2 (2 per pack) | 2 | |
| 5 | WASHER | 2 | |
| 6 | NUT @2 (2 per pack) | 2 | |
| 7 | ROD | 1 | |
| 8 | PLATE | 1 | |
| 9 | WASHER | 1 | |
| 10 | BRKT-SWIVEL-BLK | 1 | |
| 10 | GRKT-SWIVEL-GRAY | 1 | |
| 11 | FITTING @2 (2 per pack) | 3 | |
| 12 | BUSHING | 2 | |
| 13 | SCREW | 1 | |
| 14 | SPRING | 1 | |
| 15 | O RING | 1 | |
| 16 | MULTIPLE KITS | 1 | |
| 19 | CO-PILOT KIT | 1 | |
| 21 | HOOK ASSY | 1 | |
| 22 | SPRING | 1 | |
| 23 | SPRING | 1 | |
| 23 | SPRING | 1 | |
| 24 | MOUNT-LOWER | 2 | |
| 25 | BUMPER | 1 | |
| 26 | COVER ASSY | 1 | |
| 26 | COVER ASSY | 1 | |
| 27 | SCREW | 1 | |
| 28 | SCREW | 2 | |
| 29 | NUT @2 (2 per pack) | 3 | |
| 30 | WASHER @3 (3 per pack) | 3 | |
| 31 | BRACKET | 1 | |
| 32 | LEVER | 1 | |
| 33 | SPRING | 1 | |
| 34 | PIN | 1 | |
| 35 | RING-RETAIN @2 (2 per pack) | 2 |
