| № | Наименование | Примечание | Кол-во |
|---|---|---|---|
| - | GASKET SET | 1 | |
| - | PH 25 2ST | 1 | |
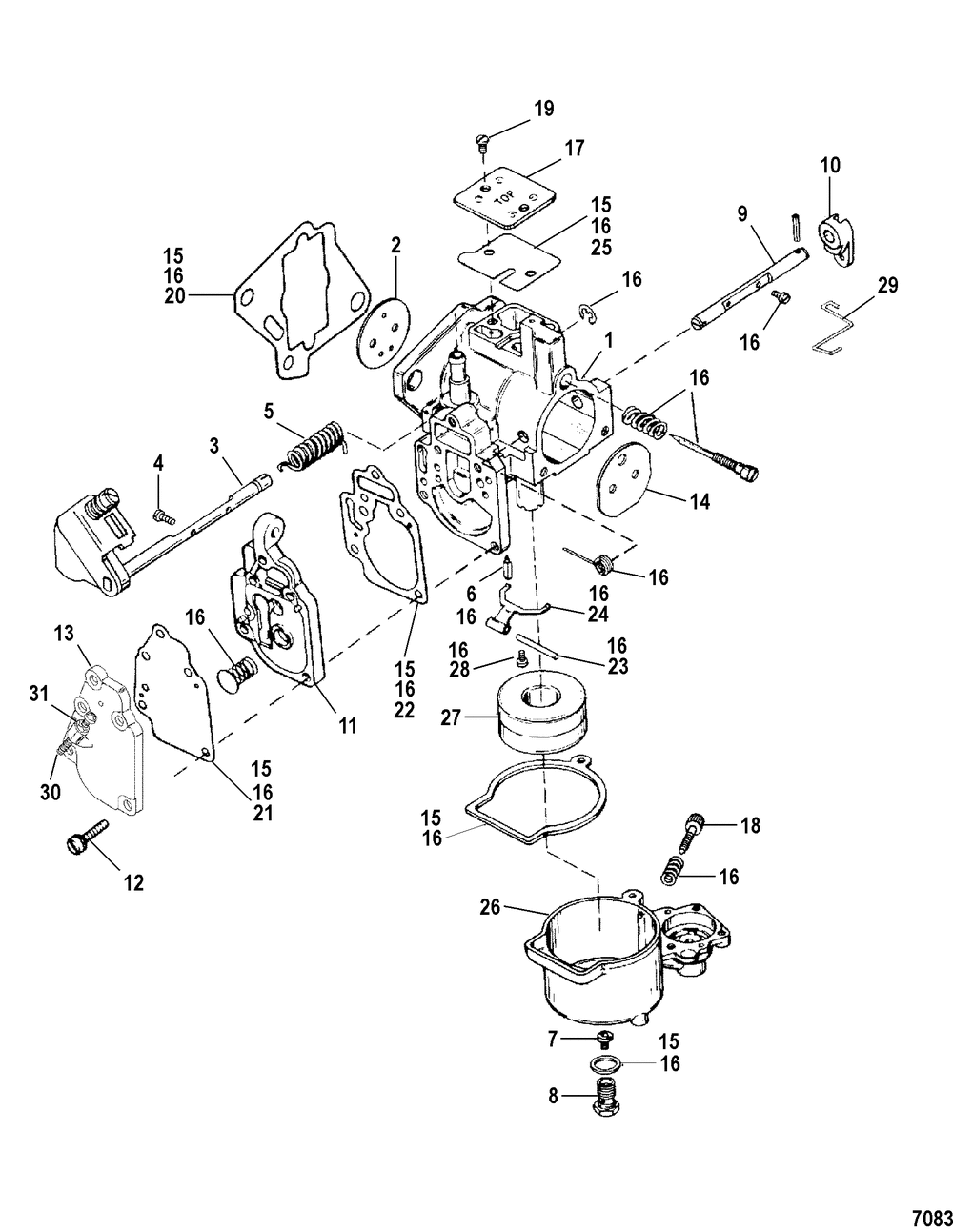
| 1 | CARBURETOR | 1 | |
| 1 | CARBURETOR (WMC-56) | 1 | |
| 1 | CARBURETOR | 1 | |
| 2 | VALVE-THROTTLE | 1 | |
| 2 | VALVE-THROTTLE (25HP/JET 20) | 1 | |
| 3 | SHAFT-THROTTLE (20/25HP)(WMC52/52A/53/53A) | 1 | |
| 4 | SCREW | 1 | |
| 5 | SPRING | 1 | |
| 6 | VALVE-INLET | 1 | |
| 7 | JET-.046 (WME-32-1/32A-1) | 1 | |
| 7 | JET-.080 @2 (WME-52-2/3) (2 per pack) | 1 | |
| 8 | PLUG | 1 | |
| 9 | CHOKE KIT | 1 | |
| 10 | LEVER-CHOKE | 1 | |
| 11 | ORD 1395-9702 | 1 | |
| 12 | SCREW ASSY | 5 | |
| 13 | COVER SNtahos_ 0T668554 & Up | 1 | |
| 14 | VALVE-CHOKE | 1 | |
| 15 | GASKET/DIAP KIT | 1 | |
| 16 | REPAIR KIT-CARB | 1 | |
| 17 | COVER PLATE | 1 | |
| 18 | SCREW | 1 | |
| 19 | SCREW ASSY | 2 | |
| 20 | GASKET | 1 | |
| 21 | DIAPHRAGM | 1 | |
| 22 | GASKET | 1 | |
| 23 | SHAFT | 1 | |
| 24 | LEVER-FLOAT | 1 | |
| 25 | GASKET | 1 | |
| 26 | BOWL-FUEL | 1 | |
| 27 | FLOAT | 1 | |
| 28 | SCREW ASSY | 1 | |
| 29 | LINK-CHOKE | 1 | |
| 30 | SCREW | 1 | |
| 31 | NUT | 1 |
