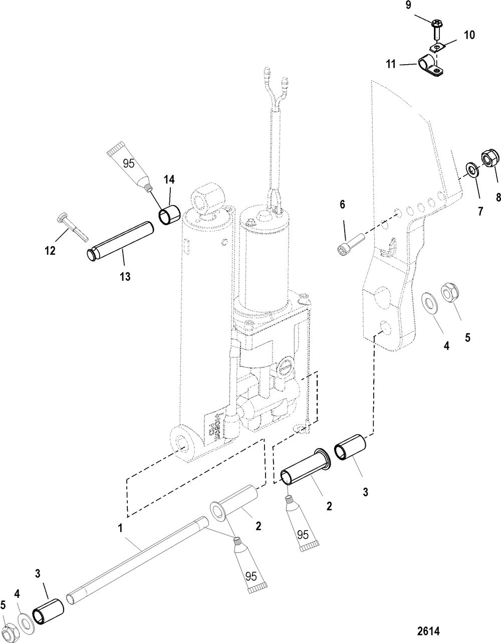
Power Trim Mounting

Корзина пуста