| № | Наименование | Примечание | Кол-во |
|---|---|---|---|
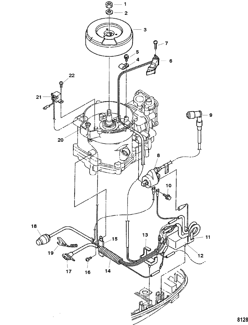
| 1 | NUT | 1 | |
| 2 | WASHER | 1 | |
| 3 | FLYWHEEL | 1 | |
| 4 | CLAMP | 1 | |
| 5 | SCREW | 1 | |
| 6 | EXCITER COIL | 1 | |
| 7 | SCREW | 2 | |
| 8 | COIL-IGNITION | 1 | |
| 9 | BOOT | 1 | |
| 10 | BOLT | 2 | |
| 11 | DAMPER-REAR | 1 | |
| 12 | CD UNIT SNtahos_ 0R036271 & Below | 1 | |
| 13 | DAMPER-FRONT SNtahos_ 0T707898/0P267999 & Below | 1 | |
| 14 | SLEEVE | 1 | |
| 15 | CLAMP | 1 | |
| 15 | CLAMP | 1 | |
| 15 | CLAMP | 1 | |
| 15 | CLAMP | 1 | |
| 16 | SCREW | 1 | |
| 17 | LAMP-WARNING | 1 | |
| 18 | SWITCH SNtahos_ 0R036271 & Below | 1 | |
| 19 | LANYARD ASSY | 1 | |
| 20 | GROMMET | 1 | |
| 21 | COIL-PULSER | 1 | |
| 22 | SCREW | 2 |
