| № | Наименование | Примечание | Кол-во |
|---|---|---|---|
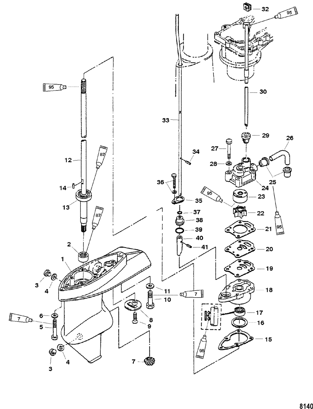
| - | GEAR HOUSING (SHORT) | 1 | |
| - | GEAR HOUSING (LONG) | 1 | |
| - | GEAR HOUSING (SAILPOWER/SAILMATE) | 1 | |
| - | GASKET SET | 1 | |
| - | REPAIR KIT-W/P | 1 | |
| 1 | GEAR HSG. BASIC (BASIC) | 1 | |
| 1 | GEAR HOUSING-SP (BASIC-SAILPOWER/SAILMATE) | 1 | |
| 2 | BUSHING | 1 | |
| 3 | PLUG-OIL | 2 | |
| 4 | ORD 8M0082880 | 2 | |
| 5 | BOLT | 1 | |
| 6 | WASHER | 1 | |
| 7 | GEAR | 1 | |
| 8 | STRAINER | 1 | |
| 9 | SCREW | 1 | |
| 10 | BOLT | 1 | |
| 11 | WASHER DESIGN I | 1 | |
| 12 | DRIVESHAFT (SHORT) | 1 | |
| 12 | DRIVESHAFT (LONG) | 1 | |
| 13 | BEARING-BALL | 1 | |
| 14 | KEY | 1 | |
| 15 | GASKET SNtahos_ 0T707898/0P267999 & Below | 1 | |
| 16 | SHIM | 0 | |
| 16 | SHIM | 0 | |
| 17 | SEAL | 1 | |
| 18 | HOUSING-W/P | 1 | |
| 19 | GASKET SNtahos_ 0T707898/0P267999 & Below | 1 | |
| 20 | PLATE-GUIDE | 1 | |
| 21 | GASKET SNtahos_ 0T707898/0P267999 & Below | 1 | |
| 22 | IMPELLER | 1 | |
| 23 | LINER | 1 | |
| 24 | PUMP-WATER | 1 | |
| 25 | SEAL | 2 | |
| 26 | HOSE | 1 | |
| 29 | SEAL | 1 | |
| 30 | TUBING (SHORT) | 1 | |
| 31 | TUBING (LONG) | 1 | |
| 32 | GROMMET | 1 | |
| 33 | CAM ROD-LONG (LONG) | 0 | |
| 33 | CAM ROD-SHORT (SHORT) | 1 | |
| 34 | PIN | 1 | |
| 35 | RETAINER | 1 | |
| 36 | BOLT | 1 | |
| 37 | O RING | 1 | |
| 38 | BUSHING | 1 | |
| 39 | O RING | 1 | |
| 40 | CAM-CLUTCH | 1 | |
| 41 | PIN | 1 |
