| № | Наименование | Примечание | Кол-во |
|---|---|---|---|
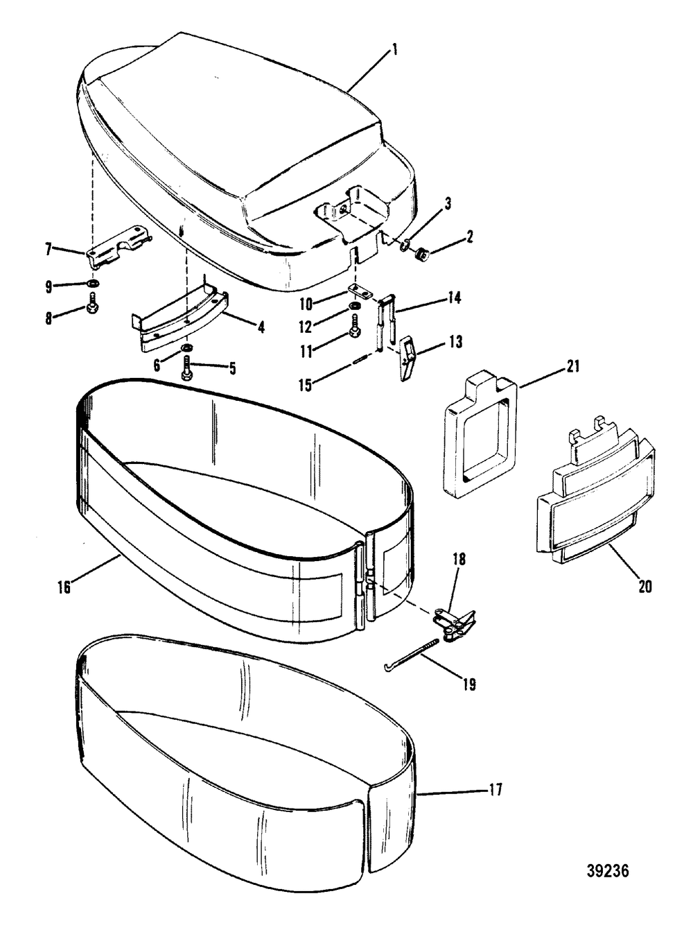
| 1 | TOP COWL (ELECTRIC) | 1 | |
| 1 | TOP COWL (MANUAL) | 1 | |
| 2 | ROPE GUIDE SERIAL 02991679-09999999 | 1 | |
| 2 | GUIDE ASSY | 1 | |
| 3 | RETAINING RING SERIAL 02991679-09999999 | 1 | |
| 3 | RETAINING RING | 1 | |
| 4 | SHIELD | 1 | |
| 5 | SCREW @2 (2 per pack) | 3 | |
| 6 | WASHER | 3 | |
| 7 | HOOK | 1 | |
| 8 | SCREW @5 (5 per pack) | 2 | |
| 9 | LOCKWASHER @5 (5 per pack) | 2 | |
| 10 | PLATE | 1 | |
| 11 | SCREW @3 (3 per pack) | 2 | |
| 12 | LOCKWASHER @15 (15 per pack) | 2 | |
| 13 | LEVER | 1 | |
| 14 | HINGE | 1 | |
| 15 | PIN-ROLL | 1 | |
| 16 | WRAP AROUND COWL | 1 | |
| 17 | BLANKET UNITED STATES 3474578 AND UP AUSTRALIA 8004360 AND UP BELGIUM 9005204 AND UP CANADA 7006601 AND UP | 1 | |
| 18 | LATCH ASSY | 2 | |
| 19 | HOOK | 2 | |
| 20 | FRONT COVER | 1 | |
| 21 | SOUND PAD | 1 |
