| № | Наименование | Примечание | Кол-во |
|---|---|---|---|
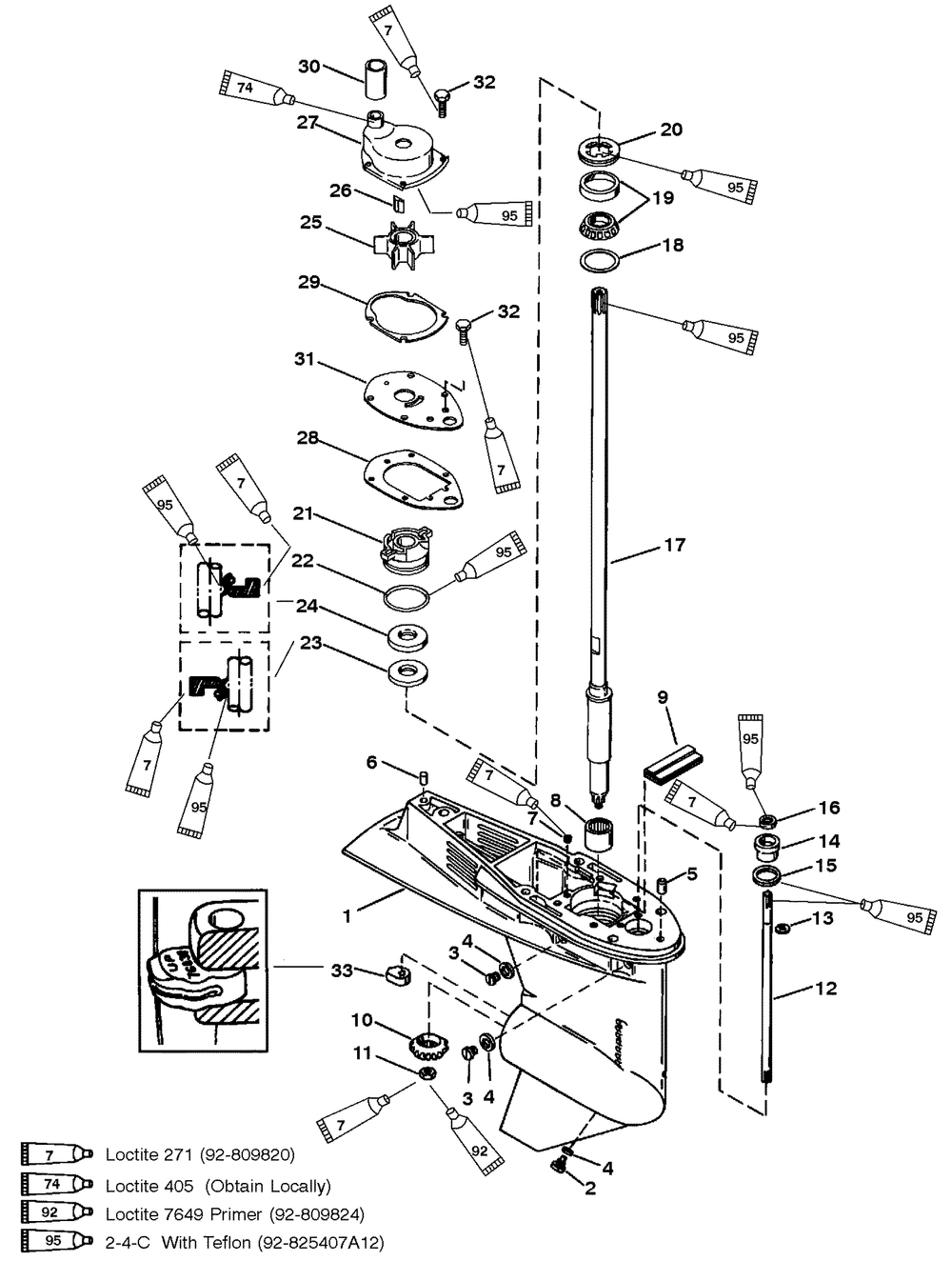
| - | SEAL KIT-G/H | 1 | |
| - | GASKET SET | 1 | |
| - | GEAR HOUSING-GR | 1 | |
| - | PUMP KIT-WATER | 1 | |
| - | GC COMP 60 2S SH (BLACK) SHORT | 1 | |
| - | ORD1671- 9760T25 (TRACKER GRAPHITE GRAY) LONG | 1 | |
| - | GC COMP 60 2S LG (BLACK) LONG | 1 | |
| - | ORD 1671-9760T25 (GRAY) LONG | 1 | |
| - | GC COMP 60 2S XL (BLACK) LL | 1 | |
| - | GEAR HOUSING-GR (GRAY) LL | 1 | |
| 1 | GEAR HOUSING (BLACK) | 1 | |
| 1 | ORD 1671-9760T30 (GRAY) | 1 | |
| 1 | ORD 1671-9760T42 (TRACKER GRAPHITE GRAY) | 1 | |
| 18 | ORD 8M0063262 | 0 | |
| 19 | BEARING KIT | 1 | |
| 20 | NUT | 1 | |
| 21 | BASE ASSY-W/P | 1 | |
| 22 | O RING @5 (5 per pack) | 1 | |
| 23 | SEAL | 1 | |
| 24 | SEAL | 1 | |
| 25 | IMPELLER-W/P | 1 | |
| 26 | KEY | 1 | |
| 27 | PUMP KIT-WATER | 1 | |
| 28 | GASKET | 1 | |
| 29 | GASKET | 1 | |
| 30 | SEAL (SHORT - 1-3/4) | 1 | |
| 31 | FACEPLATE KIT | 1 | |
| 32 | SCREW | 6 | |
| 33 | CAM-SHIFT @2 (2 per pack) | 1 |
