| № | Наименование | Примечание | Кол-во |
|---|---|---|---|
| - | PH 75/90 4S SNtahos_ 0T178500 & Up | 1 | |
| - | PH 75/904SBACKFIT SNtahos_ 0T178499 & Below | 1 | |
| - | GASKET SET | 1 | |
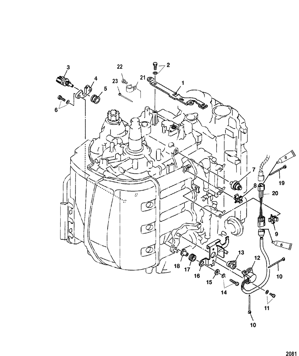
| 1 | PLATE | 1 | |
| 2 | BOLT | 2 | |
| 3 | THERMOSENSOR | 1 | |
| 4 | RETAINER | 1 | |
| 5 | GASKET | 1 | |
| 5 | GASKET SNtahos_ 0T178499 & Below | 1 | |
| 7 | SWITCH | 1 | |
| 7 | SWITCH-OIL PRESS SNtahos_ 0T178499 & Below | 1 | |
| 8 | CLAMP | 1 | |
| 10 | TIE STRAP @100 (100 per pack) | 2 | |
| 11 | SCREW | 2 | |
| 12 | SENSOR-THROTTLE | 1 | |
| 13 | LEVER | 1 | |
| 14 | SCREW | 2 | |
| 15 | WASHER | 2 | |
| 16 | BRACKET | 1 | |
| 17 | GROMMET | 2 | |
| 18 | COLLAR | 2 | |
| 20 | HARNESS | 1 | |
| 21 | CLAMP | 1 | |
| 22 | BOLT | 1 | |
| 23 | TIE STRAP @5 (5 per pack) | 1 |
