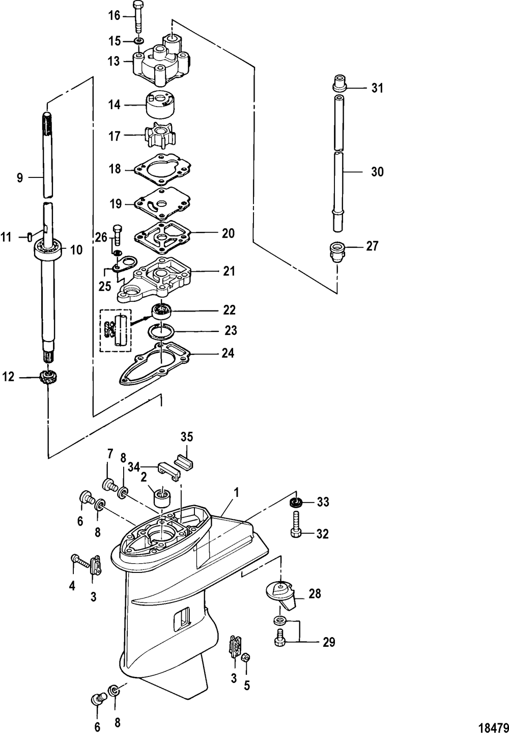
Gear Housing Driveshaft-Non Bigfoot

Корзина пуста