| № | Наименование | Примечание | Кол-во |
|---|---|---|---|
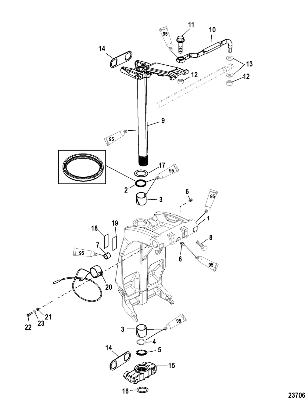
| 1 | SWIVEL BRACKET | 1 | |
| 2 | SEAL | 1 | |
| 3 | BUSHING | 2 | |
| 4 | O RING @10 (10 per pack) | 1 | |
| 5 | SPACER | 1 | |
| 6 | FITTING @2 (2 per pack) | 2 | |
| 7 | BUSHING | 2 | |
| 8 | SCREW | 2 | |
| 9 | SWIVEL PIN ASY-BK (BLACK) | 1 | |
| 10 | LINK ROD KIT | 1 | |
| 11 | SCREW | 1 | |
| 12 | NUT-SS @3 (3 per pack) | 2 | |
| 13 | WASHER | 2 | |
| 14 | BUMPER @2 SNtahos_ USA-0T801000/ BEL-0P268000 & Up (2 per pack) | 2 | |
| 15 | BOTTOM YOKE | 1 | |
| 16 | RING-RETAINING | 1 | |
| 17 | WASHER | 1 | |
| 20 | ORD 8M0074845 | 1 | |
| 21 | WASHER @5 (5 per pack) | 2 | |
| 22 | SCREW | 2 | |
| 23 | LOCKWASHER @15 (15 per pack) | 2 |
