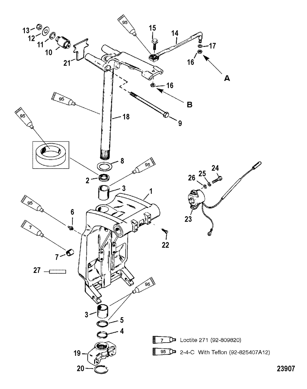
| № | Наименование | Примечание | Кол-во |
|---|---|---|---|
| 1 | BRACKET-SWIVEL-BL | 1 | |
| 2 | SEAL | 1 | |
| 3 | BUSHING | 2 | |
| 4 | SPACER | 1 | |
| 5 | O RING @10 (10 per pack) | 1 | |
| 6 | FITTING @2 (2 per pack) | 2 | |
| 7 | BUSHING | 2 | |
| 8 | WASHER | 1 | |
| 9 | SCREW | 2 | |
| 10 | MOUNT | 2 | |
| 11 | WASHER | 2 | |
| 12 | WASHER | 2 | |
| 13 | NUT @10 (10 per pack) | 2 | |
| 14 | LINK ROD KIT | 1 | |
| 15 | SCREW | 1 | |
| 16 | NUT-SS @3 (3 per pack) | 2 | |
| 17 | WASHER | 2 | |
| 18 | ORD 17-826432A 2 (BLACK)(LONG - CARBON STEEL) | 1 | |
| 19 | ORD 878182T | 1 | |
| 20 | RING-RETAINING | 1 | |
| 21 | BUMPER (X-LONG) | 1 | |
| 22 | SCREW | 2 | |
| 23 | ORDER 8M0098273 Tracker | 1 | |
| 24 | SCREW | 2 | |
| 25 | LOCKWASHER @15 (15 per pack) | 2 | |
| 26 | WASHER @5 (5 per pack) | 2 |
