Оригинальные каталоги
Масла и жидкости
Масла моторные
Масла трансмиссионные
Жидкости гидравлические
Жидкости охлаждающие
Жидкости тормозные
Масла гидравлические
Масла для вилок и амортизаторов
Масла компрессорные
Жидкости для стекол
Масла для цепей бензопил
Масла индустриальные
Масла промывочные
Раствор мочевины AdBlue
Автоэлектроника
Видеорегистраторы
Пылесосы автомобильные
FM трансмиттеры
Зарядные устройства
Разветвители, удлинители прикуривателя
Кабели
Вентиляторы автомобильные
Штекер прикуривателя
Датчик парктроника
Камеры заднего вида
Мониторы парковочные
Парктроники
Термометры
Накидки на сиденье с подогревом
Автохолодильники
Антирадары
Диагностический сканер
Аксессуары
Набор автомобилиста
Ароматизаторы
Тросы буксировочные
Канистры
Ремни крепления груза
Стяжки-резинки крепления
Сетки для крепления груза
Скотч
Влажные салфетки
Держатели телефонов, планшетов
Карты памяти
Наушники
Аккумулятор холода
Термосумки и контейнеры
Фонарики
Батарейки
Оплетки на руль
Огнетушители
Салфетки, полотенца, варежки
Инструмент
Домкраты
Компрессоры
Манометры
Насосы
Светильники переносные
Шарнирно-губцевый инструмент
Ударный инструмент
Метчики. Плашки
Заклёпочники
Заклёпки
Измерительный инструмент
Свёрла
Отвёртки
Изолента
Надфили. Напильники
Ножи, ножовки
Щётки
Абразивная бумага
Специнструмент
Ключи
Хомуты
Дрель-шуруповерт
Автохимия
Присадки
Промывки
Очистители
Смазки спрей
Смазки пластичные
Герметики
Средство для рук
Клей
Лакокрасочные материалы
Автошампуни
Полироли
Антифриз для тормозной системы
Масло для пропитки фильтров
Антикоррозионные составы
Прочее
Электрооборудование
Зарядные устройства
Инверторы
Конвертеры
Звуковые сигналы
Провода прикуривания
Предохранители
Противотуманные фары
Дневные ходовые огни
Электрика фаркопа
Шины и диски
Автошины
Грузовые шины
Мотошины
Камеры
Мотокамеры
Лента обода шины
Колпаки
Диски
Одежда и экипировка
Жилеты
Запчасти
Аккумуляторы
Лампы
Щетки стеклоочистителя
Гофры глушителя
Велотовары
Велосипеды
Самокаты
Велокамеры
Искать по VIN или номеру детали
Поиск по штрих-коду
Искать по VIN-номеру
Войти
Авторизация
Логин
Пароль
Напомнить пароль
Запомнить
Войти
Зарегистрироваться
Авторизоваться другим способом
Востановить пароль
Введите ваш email:
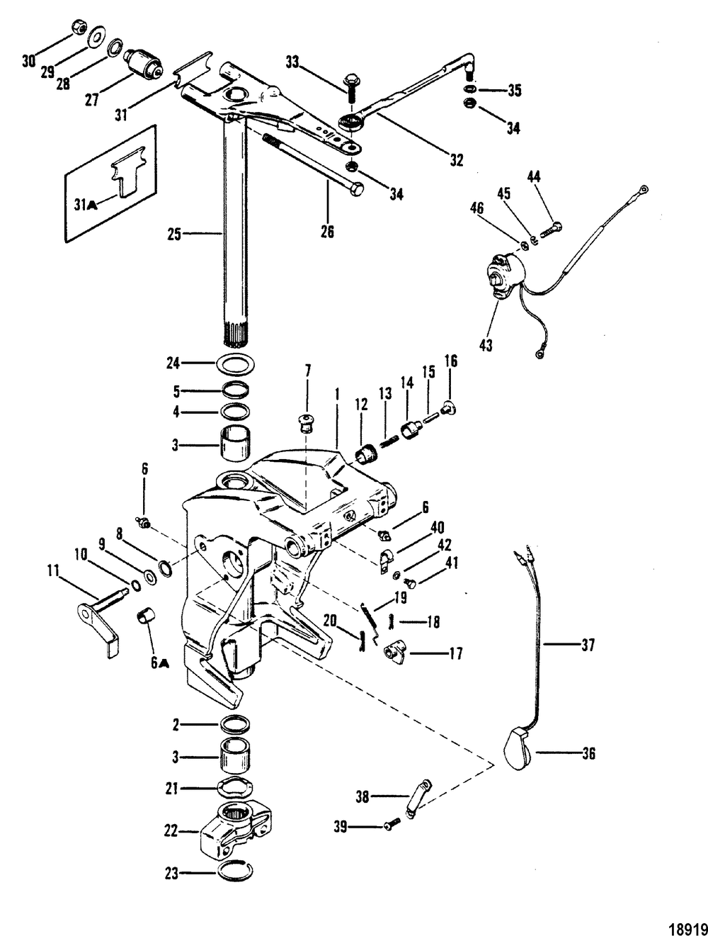
Swivel Bracket and Steering Arm
Корзина пуста
Mercury
V-150-XR-2 4868998 THRU 0A904645
V-150-XR-2 4868998 THRU 0A904645
Swivel Bracket and Steering Arm
№
Наименование
Примечание
Кол-во
-
GASKET SET SNtahos_ 5866777 THRU 6042945
1
-
GASKET SET
1
1
BRACKET-SWIVEL-BL (BLACK)
1
1
SWIVEL BRACKET
1
1
SWIVEL BRACKET (Black) SNtahos_ ME-5503247/MA-5600162 THRU ME-6616990/MA-6616990
1
1
ORD 1499-8710T20 (Gray)
1
2
SEAL
1
3
BUSHING
2
4
O RING @4 (4 per pack)
1
5
SPACER
1
6
FITTING @2 (2 per pack)
4
6A
BUSHING
1
7
GROMMET
2
8
SEAL
2
9
WASHER
2
10
O RING @5 (5 per pack)
2
11
LEVER ASSY-PORT
1
11
LEVER ASSY-STBD
1
12
BUSHING
1
13
SPRING
1
14
PLUNGER
1
15
STUD
1
16
KNOB
1
17
COUPLING
1
18
PIN-COTTER @3 SNtahos_ ME-5503247/MA-5600162 THRU ME-6616990/MA-6616990 (3 per pack)
2
19
SPRING
1
20
PIN-COTTER
1
21
WASHER-WAVE
1
22
ORD 878182T
1
22
ORD 878182T
1
23
RING-RETAINING
1
24
WASHER
1
25
SWIVEL PIN KT-BLK 7/16-20 SCREW THREAD SIZE
1
25
ORD 17-826432A 2
1
25
SWIVEL PIN KT-BLK 7/16-20 SCREW THREAD SIZE
1
25
ORD 17-826432A 2
1
26
SCREW
2
27
ORD 77326
2
28
WASHER
2
29
WASHER
2
30
NUT @10 (10 per pack)
2
31
BUMPER SNtahos_ ME-5503247/MA-5600162 THRU ME-6616990/MA-6616990
1
31A
BUMPER (X-Long)
1
32
LINK ROD KIT
1
33
SCREW
1
34
NUT-SS @3 (3 per pack)
2
35
WASHER
2
36
SWITCH ASSY
1
36
SENDER ASSY (Female Terminals) SNtahos_ ME-5503247/MA-5600162 & Up
1
37
HARNESS ASSY
1
37
TRIM HARNESS (Female Terminals) SNtahos_ ME-5503247/MA-5600162 THRU ME-6616990/MA-6616990
1
38
STRAP
2
39
SCREW @5 (5 per pack)
4
40
J CLIP
1
41
SCREW
1
42
WASHER (10 per pack)
1
43
ORDER 8M0098273 Handle Models Oyster
1
44
SCREW
2
45
LOCKWASHER @15 (15 per pack)
2
46
WASHER @5 (5 per pack)
2