| № | Наименование | Примечание | Кол-во |
|---|---|---|---|
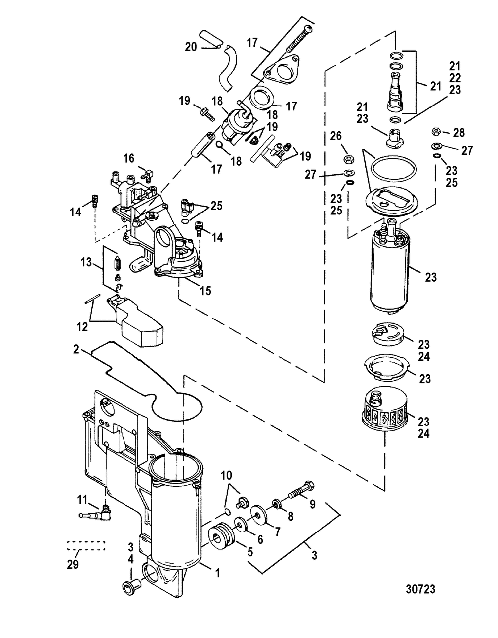
| - | FUEL MANAGEMENT | 1 | |
| 1 | BODY KIT | 1 | |
| 2 | O RING | 1 | |
| 3 | SCREW KIT | 1 | |
| 4 | COLLAR | 1 | |
| 5 | GROMMET | 3 | |
| 6 | WASHER @2 (2 per pack) | 3 | |
| 7 | WASHER | 3 | |
| 8 | LOCKWASHER @5 (5 per pack) | 3 | |
| 9 | SCREW | 3 | |
| 10 | SCREW KIT-DRAIN | 1 | |
| 11 | VALVE-CHECK | 1 | |
| 12 | FLOAT KIT | 1 | |
| 13 | VALVE KIT-FLOAT | 1 | |
| 14 | SCREW KIT | 1 | |
| 15 | COVER | 1 | |
| 16 | ELBOW KIT (SAME AS REF. tahos_16 ON "FUEL MANAGEMENT SYSTEM (VAPOR SEPARATOR)") | 1 | |
| 17 | ATTACHING KIT | 1 | |
| 18 | REG KIT-PRESSURE | 1 | |
| 19 | VALVE KIT | 1 | |
| 20 | HOSE KIT | 1 | |
| 21 | FITTING KIT | 1 | |
| 22 | O RING/SEAL KIT | 1 | |
| 23 | ORD 808505T01 | 1 | |
| 24 | STRAINER KIT-FUEL | 1 | |
| 25 | CONNECTION KIT | 1 | |
| 26 | NUT | 1 | |
| 27 | LOCKWASHER @5 (5 per pack) | 2 | |
| 28 | NUT | 1 | |
| 29 | REF OB SB 09-18 (1999)(150/XR6/MAG. III/175/200) (150/XR6/MAG. III/175/200) | 1 |
