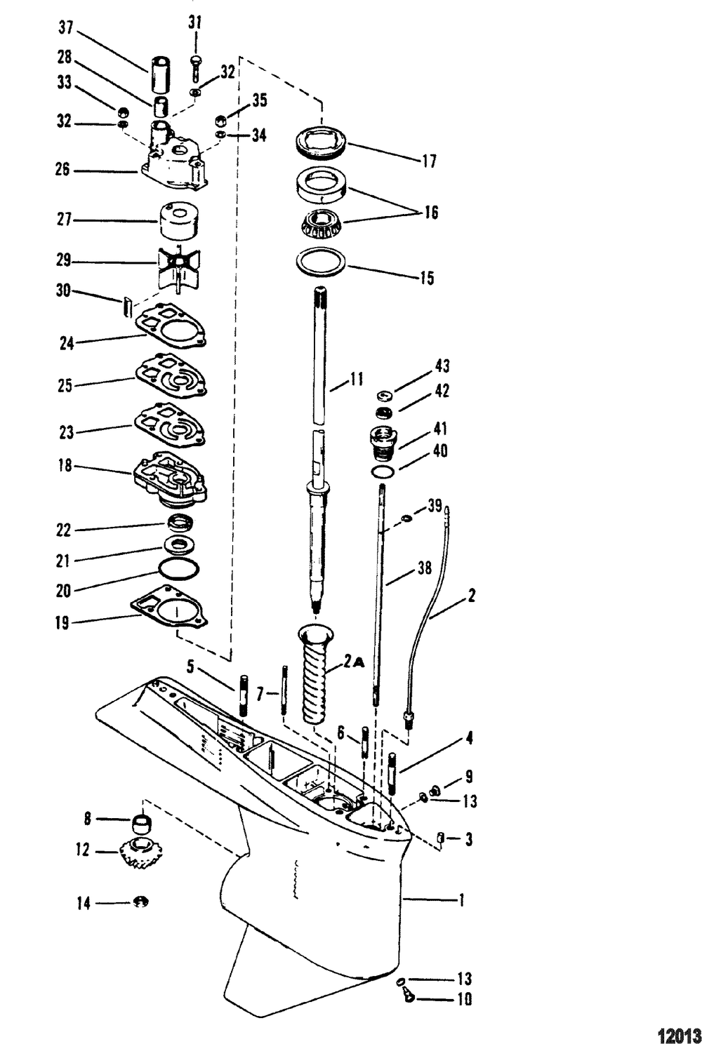
| № | Наименование | Примечание | Кол-во |
|---|---|---|---|
| - | SEAL KIT | 1 | |
| - | PUMP KIT-WATER | 1 | |
| - | GASKET SET | 1 | |
| 1 | ORD 1674-814247T1 | 1 | |
| 1 | GEAR HOUSING | 1 | |
| 2 | CONNECTOR ASSY (LONG/X-LONG) | 1 | |
| 2A | SLEEVE | 1 | |
| 3 | PIN-DOWEL-SOLID | 2 | |
| 4 | STUD | 1 | |
| 5 | STUD | 2 | |
| 6 | STUD | 1 | |
| 7 | STUD | 2 | |
| 8 | BEARING ASSY | 1 | |
| 9 | SCREW-DRAIN @2 (2 per pack) | 1 | |
| 10 | SCREW KIT @2 (2 per pack) | 1 | |
| 11 | DRIVESHAFT | 1 | |
| 13 | SEAL-BLUE @15 (15 per pack) | 2 | |
| 14 | NUT @5 (5 per pack) | 1 | |
| 15 | ORD 8M0063267 | 0 | |
| 16 | BEARING KIT | 1 | |
| 17 | RETAINER | 1 | |
| 18 | BASE ASSY-W/P | 1 | |
| 19 | GASKET (2 per pack) | 1 | |
| 20 | O RING | 1 | |
| 21 | SEAL | 1 | |
| 22 | SEAL | 1 | |
| 23 | GASKET @5 (5 per pack) | 1 | |
| 24 | GASKET @5 (5 per pack) | 1 | |
| 25 | PLATE-FACE | 1 | |
| 26 | BODY ASSY-WP | 1 | |
| 27 | INSERT @2 (2 per pack) | 1 | |
| 28 | SEAL @5 (5 per pack) | 1 | |
| 29 | IMPELLER | 1 | |
| 30 | KEY @5 (5 per pack) | 1 | |
| 31 | SCREW | 1 | |
| 32 | WASHER (10 per pack) | 2 | |
| 33 | NUT | 2 | |
| 34 | WASHER @3 (3 per pack) | 1 | |
| 35 | NUT | 1 | |
| 37 | SLEEVE @5 (5 per pack) | 1 | |
| 38 | SHIFT SHAFT | 1 | |
| 38 | SHIFT SHAFT USE WITH E-RING | 1 | |
| 39 | E RING @2 (2 per pack) | 1 | |
| 40 | O RING @5 (5 per pack) | 1 | |
| 41 | BUSHING ASSY | 1 | |
| 42 | SEAL | 1 | |
| 43 | WASHER | 1 |
