Оригинальные каталоги
Масла и жидкости
Масла моторные
Масла трансмиссионные
Жидкости гидравлические
Жидкости охлаждающие
Жидкости тормозные
Масла гидравлические
Масла для вилок и амортизаторов
Масла компрессорные
Жидкости для стекол
Масла для цепей бензопил
Масла индустриальные
Масла промывочные
Раствор мочевины AdBlue
Автоэлектроника
Видеорегистраторы
Пылесосы автомобильные
FM трансмиттеры
Зарядные устройства
Разветвители, удлинители прикуривателя
Кабели
Вентиляторы автомобильные
Штекер прикуривателя
Датчик парктроника
Камеры заднего вида
Мониторы парковочные
Парктроники
Термометры
Накидки на сиденье с подогревом
Автохолодильники
Антирадары
Диагностический сканер
Аксессуары
Набор автомобилиста
Ароматизаторы
Тросы буксировочные
Канистры
Ремни крепления груза
Стяжки-резинки крепления
Сетки для крепления груза
Скотч
Влажные салфетки
Держатели телефонов, планшетов
Карты памяти
Наушники
Аккумулятор холода
Термосумки и контейнеры
Фонарики
Батарейки
Оплетки на руль
Огнетушители
Салфетки, полотенца, варежки
Инструмент
Домкраты
Компрессоры
Манометры
Насосы
Светильники переносные
Шарнирно-губцевый инструмент
Ударный инструмент
Метчики. Плашки
Заклёпочники
Заклёпки
Измерительный инструмент
Свёрла
Отвёртки
Изолента
Надфили. Напильники
Ножи, ножовки
Щётки
Абразивная бумага
Специнструмент
Ключи
Хомуты
Дрель-шуруповерт
Автохимия
Присадки
Промывки
Очистители
Смазки спрей
Смазки пластичные
Герметики
Средство для рук
Клей
Лакокрасочные материалы
Автошампуни
Полироли
Антифриз для тормозной системы
Масло для пропитки фильтров
Антикоррозионные составы
Прочее
Электрооборудование
Зарядные устройства
Инверторы
Конвертеры
Звуковые сигналы
Провода прикуривания
Предохранители
Противотуманные фары
Дневные ходовые огни
Электрика фаркопа
Шины и диски
Автошины
Грузовые шины
Мотошины
Камеры
Мотокамеры
Лента обода шины
Колпаки
Диски
Одежда и экипировка
Жилеты
Запчасти
Аккумуляторы
Лампы
Щетки стеклоочистителя
Гофры глушителя
Велотовары
Велосипеды
Самокаты
Велокамеры
Искать по VIN или номеру детали
Поиск по штрих-коду
Искать по VIN-номеру
Войти
Авторизация
Логин
Пароль
Напомнить пароль
Запомнить
Войти
Зарегистрироваться
Авторизоваться другим способом
Востановить пароль
Введите ваш email:
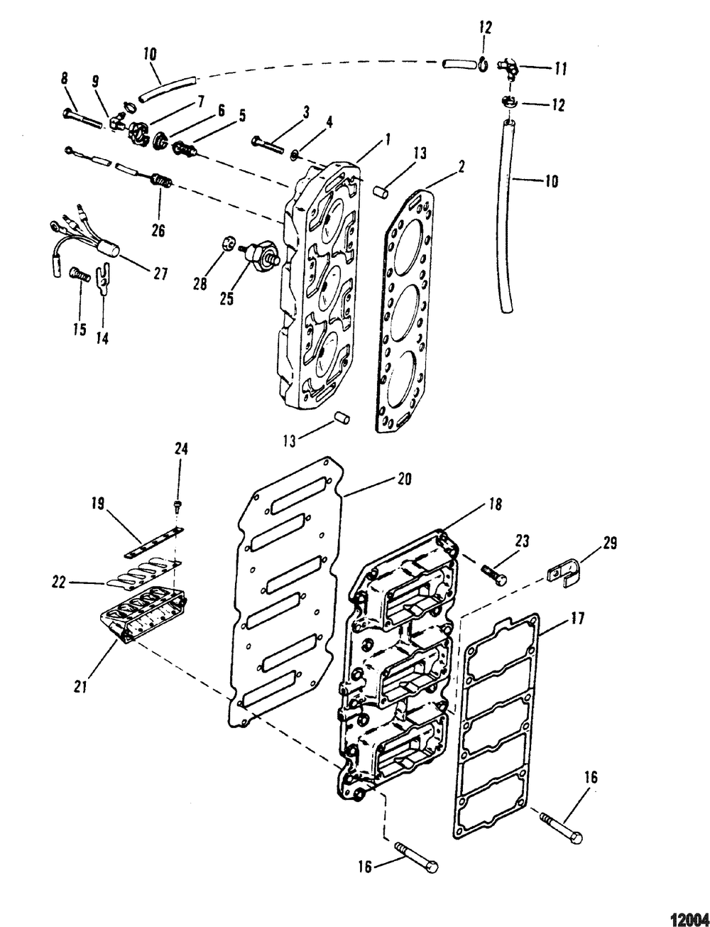
Reed Block And Cylinder Head
Корзина пуста
Mercury
V-200XRI (EFI) 0D082000 THRU 0G303045
V-200XRI (EFI) 0D082000 THRU 0G303045
Reed Block And Cylinder Head
№
Наименование
Примечание
Кол-во
-
GASKET SET
1
1
HEAD-CYLINDER XR6/MAGNUM III/TRACKER/175/200 SNtahos_ 0D262673 & Below
2
1
HEAD-CYLINDER XR6/MAGNUM III/TRACKER/175/200 SNtahos_ 0D262673 & Below
2
1
HEAD-CYLINDER (200XL/CXL) SNtahos_ 0D246107 THRU 0G052594
2
2
GASKET XR6/MAGNUM III/TRACKER/175/200 SNtahos_ 0D262673 & Below
2
3
SCREW
23
3
SCREW (200)
1
3
SCREW (200) SNtahos_ G146482 & Below
1
4
WASHER @2 (2 per pack)
24
5
THERMOSTAT-143 SNtahos_ 0G437999 & Below
2
6
GASKET @4 (4 per pack)
2
7
COVER KIT-THERMO
2
8
SCREW @5 (5 per pack)
4
9
FITTING SNtahos_ 0G129222 & Up
1
10
HOSE-48 INCH
1
11
FITTING
1
12
TIE STRAP @100 (100 per pack)
0
13
PIN-DOWEL @3 (3 per pack)
4
14
RETAINER
2
15
SCREW
2
16
SCREW @2 (2 per pack)
6
16
SCREW
6
17
GASKET
1
18
ADAPTOR PLATE
1
19
CLAMP-REED
12
20
GASKET
1
21
REED BLOCK
6
22
REED KIT
6
23
SCREW @5 (5 per pack)
8
24
SCREW @5 (5 per pack)
60
25
SENSOR
1
25
SENSOR Gray (200) SNtahos_ D239648 THRU G146482
1
25
DETONATION SENSOR Black (200) SNtahos_ D239647 & Below
1
26
SENDER
1
27
SENSOR ASSY-TEMP
1
28
NUT @10 (10 per pack)
1
29
J CLIP @5 (5 per pack)
1