| № | Наименование | Примечание | Кол-во |
|---|---|---|---|
| - | REF OB PB 97-3 | 1 | |
| - | REF OB PB 97-3 | 1 | |
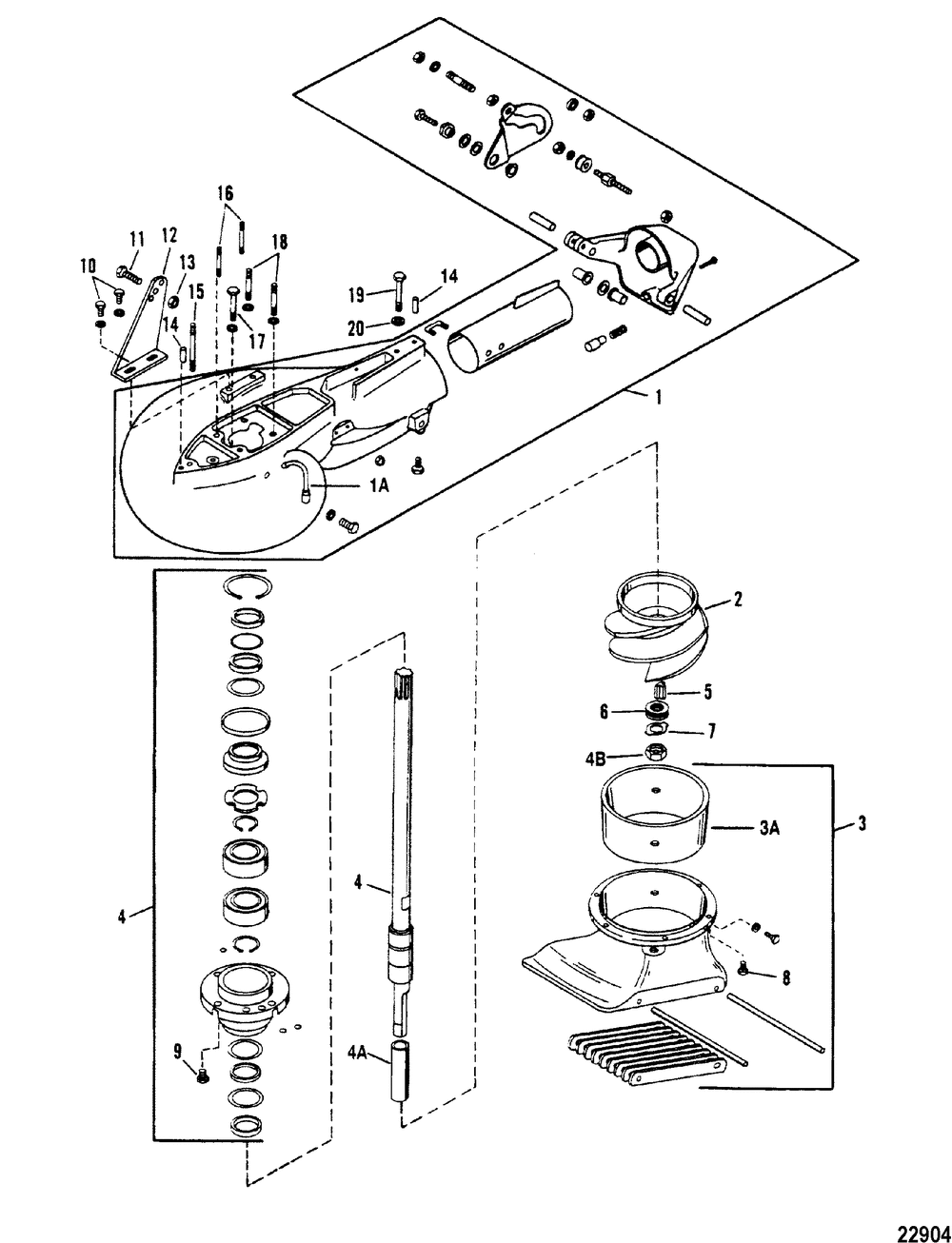
| 1 | HSG ASSY-PUMP | 1 | |
| 1A | HOSE | 1 | |
| 2 | IMPELLER | 1 | |
| 3 | HSG ASSY-INTAKE SNtahos_ 0G582704 & Below | 1 | |
| 3A | LINER SNtahos_ 0G582704 & Below | 1 | |
| 4 | SHAFT-DRIVE | 1 | |
| 4A | SLEEVE | 1 | |
| 4B | NUT | 1 | |
| 5 | KEY | 1 | |
| 6 | SHIM | 8 | |
| 7 | WASHER-TAB | 1 | |
| 8 | SCREW | 6 | |
| 9 | SCREW SNtahos_ 0G582704 & Below | 4 | |
| 10 | SCREW | 2 | |
| 11 | SCREW @5 (5 per pack) | 1 | |
| 12 | BRACKET | 1 | |
| 13 | NUT @2 SNtahos_ 0G582705 & Up (2 per pack) | 1 | |
| 14 | PIN-DOWEL | 2 | |
| 15 | STUD | 1 | |
| 16 | STUD | 2 | |
| 17 | SCREW @5 (5 per pack) | 1 | |
| 18 | STUD | 2 | |
| 19 | SCREW @2 (2 per pack) | 1 | |
| 20 | WASHER | 1 |
