| № | Наименование | Примечание | Кол-во |
|---|---|---|---|
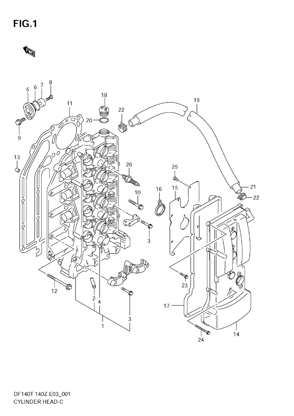
| 1-1 | HEAD ASSYCYLIN | 1 | |
| 1-2 | HEAD ASSYCYLIN (INC.NO.5~9 DF140Z:421015~ ) | 1 | |
| 1-3 | HEAD ASSYCYLIN (DF140T:422364~ DF140Z:421166~ ) | 1 | |
| 1-4 | HEAD ASSYCYLIN (DF140T:110122~ DF140Z:110001~ ) | 1 | |
| 2 | GUIDE VALVE | 16 | |
| 3-1 | BOLTCAMSHAFT H | 21 | |
| 3-2 | .BOLT (6X40) | 21 | |
| 4 | COVER DOWEL PIN | 18 | |
| 5 | COVERPROTCTION | 2 | |
| 6 | O-RINGD:1.9ID | 2 | |
| 7 | ANODEPROTECTIO (DF140T:421160~ DF140Z:421015~ ) | 2 | |
| 8-1 | BOLT6X14 (DF140T:421160~ DF140Z:421015~ ) | 2 | |
| 8-2 | BOLTPROTECTION | 2 | |
| 9 | BOLT | 2 | |
| 10 | BOLTCRANKCASE | 10 | |
| 11 | GASKETCYLINDER | 1 | |
| 12 | BOLT 8X50 | 8 | |
| 13 | PIN | 2 | |
| 14 | COVERCYLINDER | 1 | |
| 15 | PLATEBREATHER | 1 | |
| 16 | GASKETSPARK PL | 4 | |
| 17 | GASKETCYLINDER | 1 | |
| 18 | CAPOIL FILLER | 1 | |
| 19 | PROTECTORBREAT (L:590) | 1 | |
| 20 | O RING D:3.1 ID | 1 | |
| 21 | HOSE (L:2000->660) | 1 | |
| 22 | CLIP | 2 | |
| 23 | BOLT 6X25 | 11 | |
| 24 | BOLT 6 X 55 | 4 | |
| 25 | SCREW | 7 | |
| 26 | Свеча зажигания | 4 |
