| № | Наименование | Примечание | Кол-во |
|---|---|---|---|
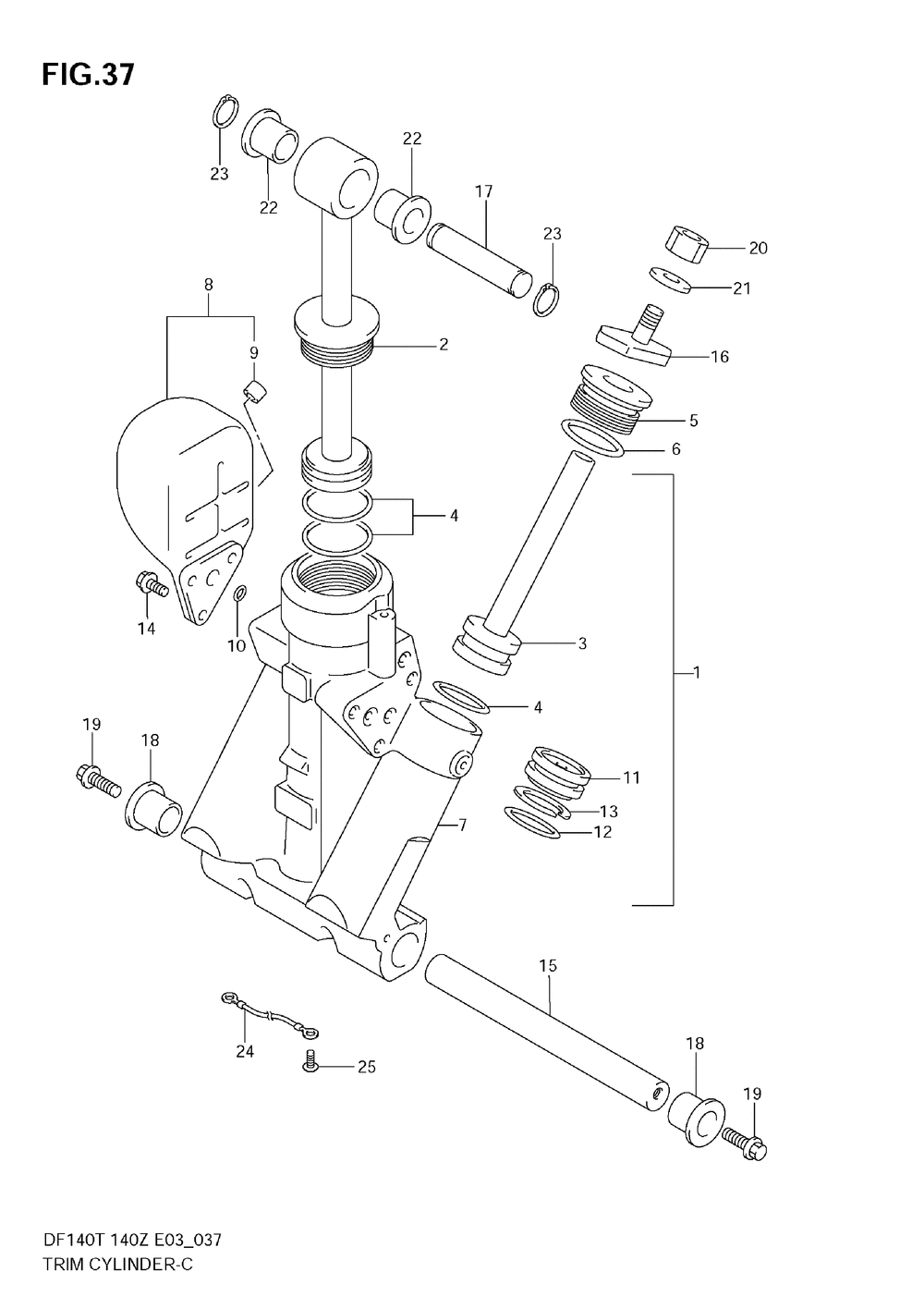
| 1 | MANIFOLD SUB AS | 1 | |
| 2-1 | PISTON / PISTON | 1 | |
| 2-2 | PISTON / PISTON (DF140T:883609~ DF140Z:880275~ ) | 1 | |
| 3 | PISTON/RAM ASSY | 2 | |
| 4 | O RING SET | 2 | |
| 5-1 | HEADTRIM CYLIN | 2 | |
| 5-2 | HEADTRIM CYLIN (DF140T:883609~ DF140Z:880275~ ) | 2 | |
| 6 | O RING SET HEA | 2 | |
| 7-1 | Детать | 1 | |
| 7-2 | MANIFOLDPTT (DF140T:883609~ DF140Z:880275~ ) | 1 | |
| 8 | RESERVOIR ASSY | 1 | |
| 9 | CAP | 1 | |
| 10 | O RING SET | 3 | |
| 11 | PISTONFREE | 2 | |
| 12 | 0-RING SET | 2 | |
| 13 | RING SET PISTO | 2 | |
| 14 | BOLTRESERVOIR | 3 | |
| 15 | SHAFT TILT CYL | 1 | |
| 16 | PAD TRIM CYL RA | 2 | |
| 17 | SHAFTTILT CYL | 1 | |
| 18 | BUSHTILT CYL L | 2 | |
| 19 | BOLT 10X35 | 2 | |
| 20 | NUT | 2 | |
| 21 | WASHER (<-09162-08007) | 2 | |
| 22 | BUSH | 2 | |
| 23 | CIRCLIP | 2 | |
| 24 | LEADCLAMP TO S | 1 | |
| 25 | SCREW 6X10 (SUS | 1 |
