| № | Наименование | Примечание | Кол-во |
|---|---|---|---|
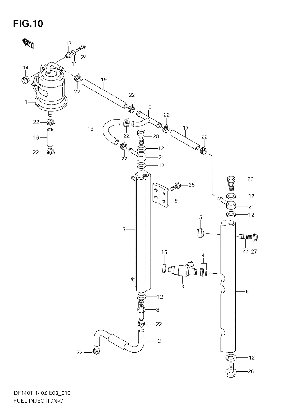
| 1 | FILTERFUEL | 1 | |
| 2 | HOSEFUEL | 1 | |
| 3 | INJECTOR ASSYF | 4 | |
| 4 | GROMMET SETFUE | 4 | |
| 5 | INSULATORDELIV | 2 | |
| 6 | PIPEDELIVERY | 1 | |
| 7 | COOLER COMPFUE | 1 | |
| 8 | UNIONFUEL HOSE | 1 | |
| 9 | Детать | 2 | |
| 10 | UNION 3 WAY | 1 | |
| 11 | WASHER 6.5X18X1 | 2 | |
| 12 | GASKET | 6 | |
| 13 | WASHER | 2 | |
| 14 | CUSHION | 2 | |
| 15 | ПРОКЛАДКА ФОРСУНКИ ТОПЛИВНОЙ 09320-08062 | 4 | |
| 16-1 | HOSE FUEL (L:600->50) | 1 | |
| 16-2 | HOSE7.5X13.5X6 (L:600->50L:600->120L:600->430) | 1 | |
| 20 | BOLTUNION FUEL | 2 | |
| 21 | UNIONFUEL FILT | 2 | |
| 22 | CLIP | 10 | |
| 23 | BOLTSTUD | 2 | |
| 24-1 | BOLT | 2 | |
| 24-2 | BOLTVAPOR SEPA | 2 | |
| 25 | BOLT | 6 | |
| 26 | BOLT | 1 | |
| 27 | NUT | 2 |
