| № | Наименование | Примечание | Кол-во |
|---|---|---|---|
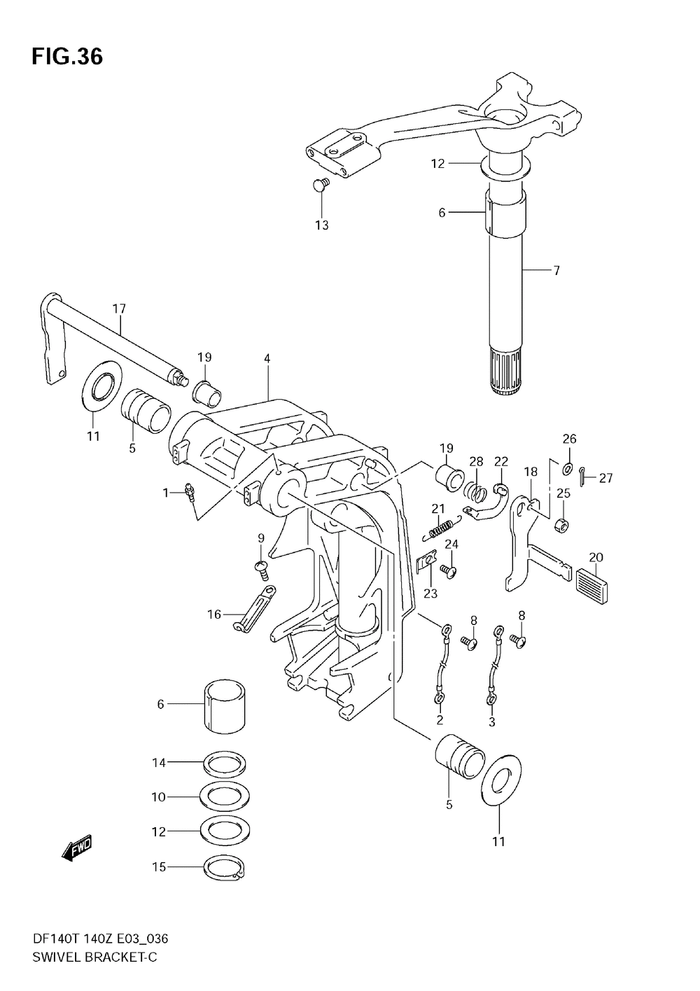
| 1-1 | NIPPLEGREASE | 5 | |
| 2 | LEADCLAMP TO S | 1 | |
| 3 | LEADCLAMP TO S | 1 | |
| 4-1 | (DF140T) | 1 | |
| 4-3 | (DF140T:682149~) | 1 | |
| 4-4 | BRACKETSWIVEL( (DF140T140Z) | 1 | |
| 4-6 | BRACKET&TRIM RA (DF140T:682149~ DF140Z:680234~ ) | 1 | |
| 5-1 | BUSHCLAMP SHAF | 2 | |
| 5-2 | BUSHINGSWIVEL | 2 | |
| 6 | BUSHSTEERING | 2 | |
| 7-1 | BRACKETSTEERIN (DF140T) | 1 | |
| 7-2 | BRACKETSTEERIN (DF140T:682149~) | 1 | |
| 7-3 | BRACKETSTEERIN (DF140T140Z) | 1 | |
| 7-4 | BRACKETSTEERIN (DF140T:682149~ DF140Z:680234~ ) | 1 | |
| 8 | SCREW (<-09125-05050) | 3 | |
| 9 | SCREW 6X10 (SUS | 2 | |
| 10 | WASHER 39.5X64X | 2 | |
| 11 | WASHER | 2 | |
| 12 | SHIM | 4 | |
| 13 | PLUG | 2 | |
| 14 | OIL SEAL 39X51X | 1 | |
| 15 | CIRCLIP | 1 | |
| 16 | CLAMP | 2 | |
| 17 | LEVER COMPTILT | 1 | |
| 18 | LEVERTILT LOCK | 1 | |
| 19 | BUSHTILT STOP | 2 | |
| 20 | RUBBER LOCK ARM | 1 | |
| 21 | SPRINGTILT LOC | 1 | |
| 22 | LINKTILT LOCK | 1 | |
| 23 | BRACKETTILT LO | 1 | |
| 25 | NUT | 1 | |
| 26 | WASHER | 1 | |
| 27 | PIN | 1 | |
| 28 | SPRING | 1 |
