| № | Наименование | Примечание | Кол-во |
|---|---|---|---|
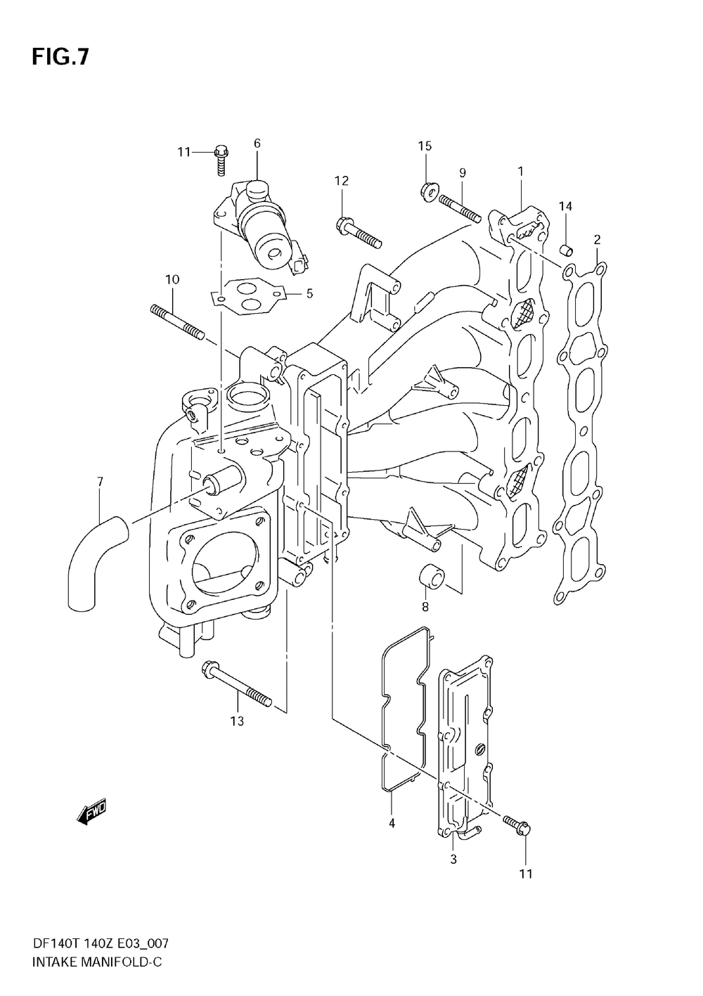
| 1-1 | MANIFOLD COMPI (->13110-90J01 USED W/01550-08557(4) ) | 1 | |
| 1-2 | MANIFOLD COMPI (DF140T:254115~ DF140Z:251227~ ) | 1 | |
| 2 | GASKETINTAKE M | 1 | |
| 3 | COVERWATER JKT | 1 | |
| 4 | O RINGWATER JK | 1 | |
| 5 | GASKETIAC VALV | 1 | |
| 6 | VALVEIAC | 1 | |
| 7 | HOSEIAC | 1 | |
| 8 | CUSHION | 1 | |
| 9 | BOLTSTUD | 1 | |
| 10 | STUD BOLT | 1 | |
| 11 | BOLT | 10 | |
| 12 | BOLT 8 X 40 | 8 | |
| 13 | BOLT | 1 | |
| 14 | 11 X 12 DOWEL P | 2 | |
| 15 | NUT | 2 |
