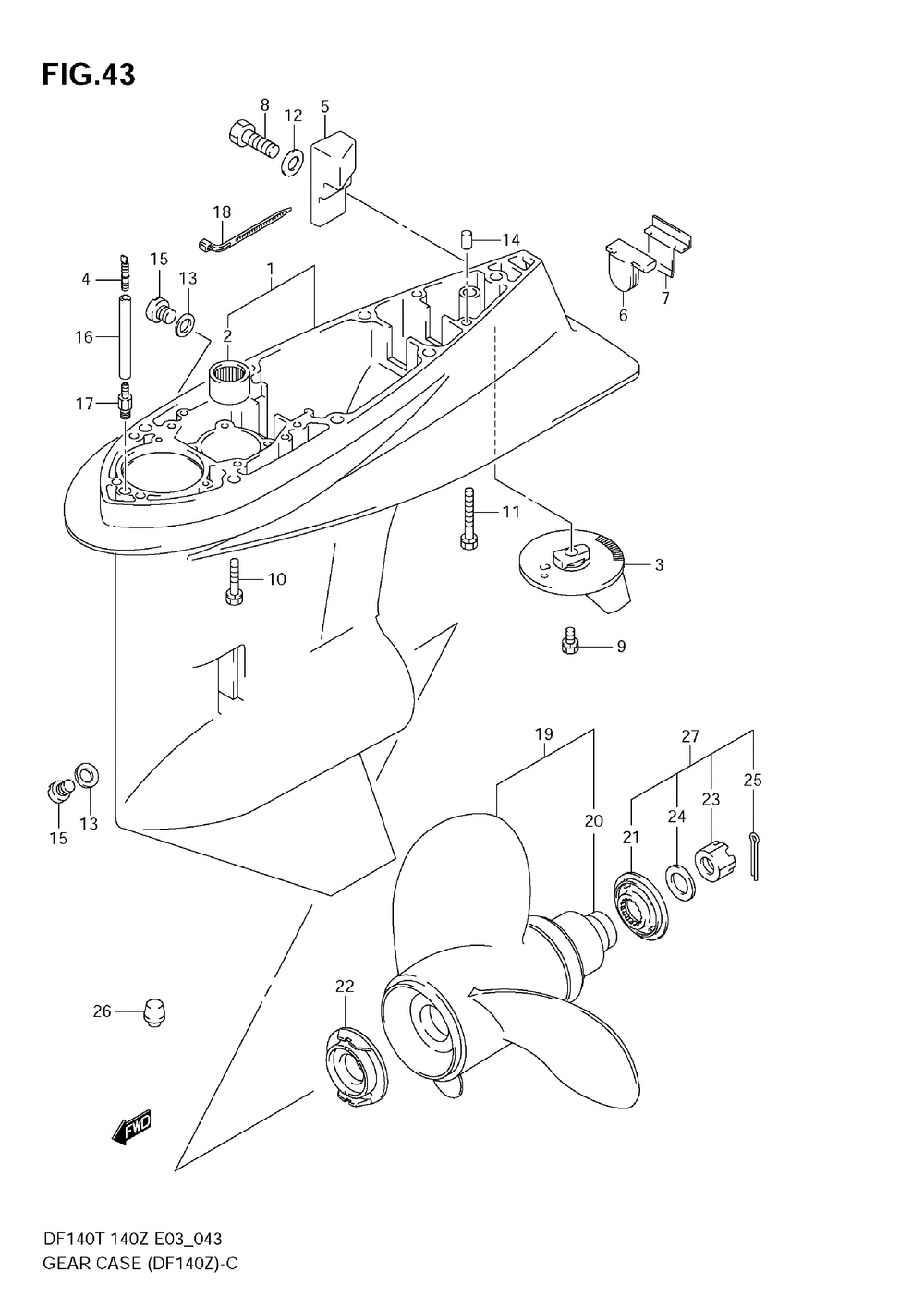
GEAR CASE (DF140Z)

Корзина пуста