| № | Наименование | Примечание | Кол-во |
|---|---|---|---|
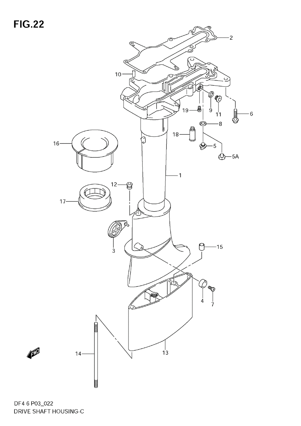
| 1-1 | HOUSINGDRIVE S (->52111-91J20-0EP 09248-10008 ) | 1 | |
| 1-2 | HOUSINGDRIVE S (DF4 MODEL:05 DF6:511204~ ) | 1 | |
| 1-3 | HOUSINGDRIVE S (MODEL:0607) | 1 | |
| 1-4 | HOUSINGDRIVE S (MODEL:0809) | 1 | |
| 2 | GASKETDRIVE SH | 1 | |
| 3 | COVER CL ADJUST | 1 | |
| 4 | ANODEPROTECTIO (DF140T:421160~ DF140Z:421015~ ) | 1 | |
| 5 | TUBEWATER INSP (DF4 MODEL:0304 DF6:~511203 ) | 1 | |
| 5A | PLUGDRAIN10X7 (OIL DRAIN) | 1 | |
| 6 | BOLT(6X38) | 9 | |
| 7-1 | BOLT6X14 (DF140T:421160~ DF140Z:421015~ ) | 1 | |
| 7-2 | BOLTPROTECTION | 1 | |
| 8 | GASKET DRAIN P (0010 per pack) | 1 | |
| 9 | GASKET (12X17X1) | 1 | |
| 10 | PIN | 2 | |
| 11 | PLUG | 1 | |
| 12 | BUSH (<-25214-91J00) | 1 | |
| 13-1 | CASEEXTENSION( (TYPE:L) | 1 | |
| 14 | (TYPE:L) | 2 | |
| 15 | (TYPE:L) | 1 | |
| 16-1 | (DF4 MODEL:03) | 1 | |
| 16-2 | RUBBERMOUNT UP (DF4 MODEL:04~) | 1 | |
| 17 | RUBBERMOUNT LO | 1 | |
| 18 | FLUSH ATTACHMEN (OPT) | 1 | |
| 19 | TUBEWATER INSP (DF4 MODEL:05~ DF6:511204~ ) | 1 |
