| № | Наименование | Примечание | Кол-во |
|---|---|---|---|
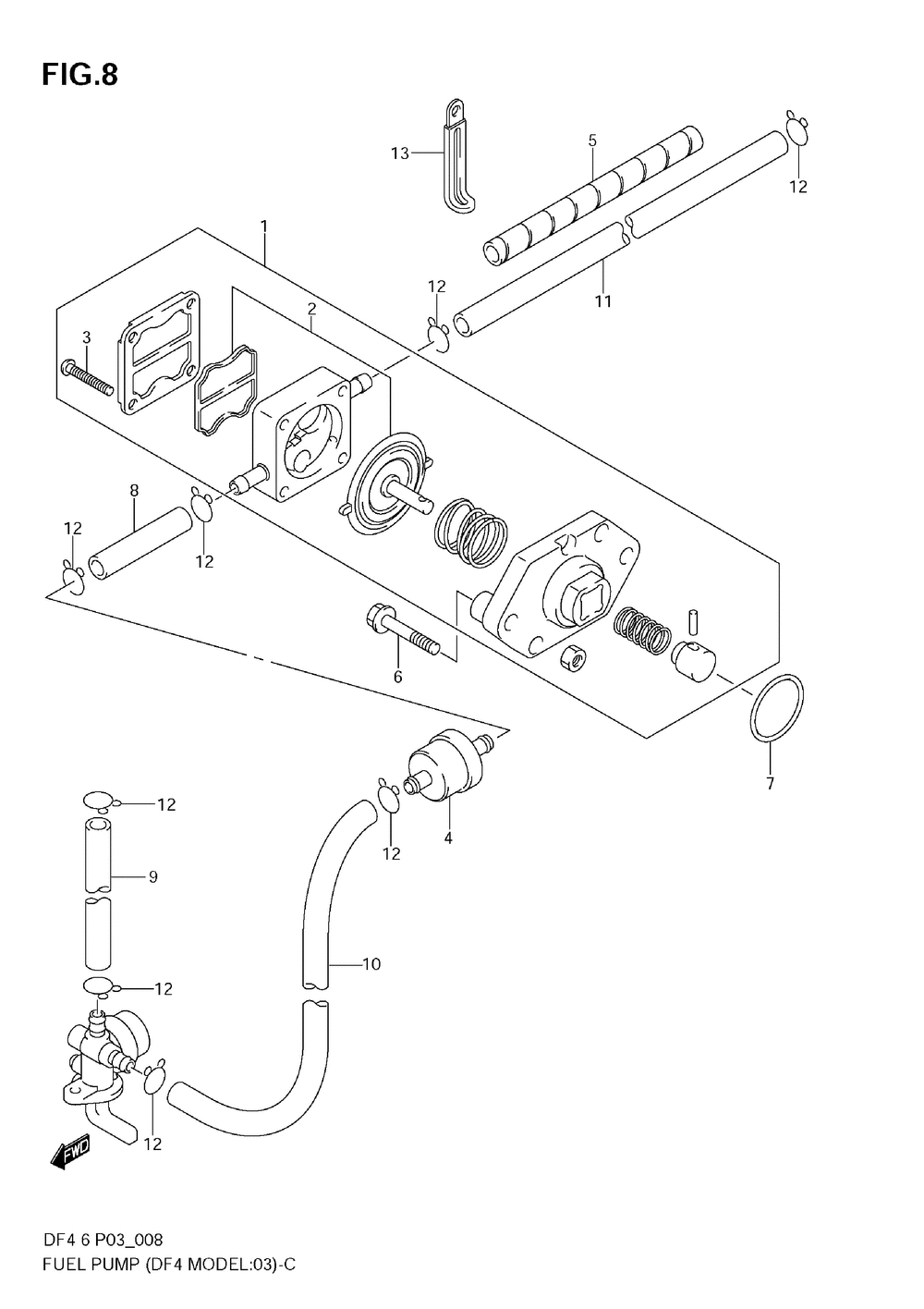
| 1 | PUMP ASSYFUEL | 1 | |
| 2 | DIAPHRAGM SET | 1 | |
| 3 | SCREW | 4 | |
| 4 | FILTERFUEL | 1 | |
| 5 | Детать | 3 | |
| 6 | BOLT (6X28) | 2 | |
| 7 | O-RING (D:2.0 I | 1 | |
| 8 | HOSE 5X9X600 (L:600->100) | 1 | |
| 12 | CLIP | 8 | |
| 13 | CLAMP | 1 |
| Корзина пуста |
| № | Наименование | Примечание | Кол-во |
|---|---|---|---|
| 1 | PUMP ASSYFUEL | 1 | |
| 2 | DIAPHRAGM SET | 1 | |
| 3 | SCREW | 4 | |
| 4 | FILTERFUEL | 1 | |
| 5 | Детать | 3 | |
| 6 | BOLT (6X28) | 2 | |
| 7 | O-RING (D:2.0 I | 1 | |
| 8 | HOSE 5X9X600 (L:600->100) | 1 | |
| 12 | CLIP | 8 | |
| 13 | CLAMP | 1 |