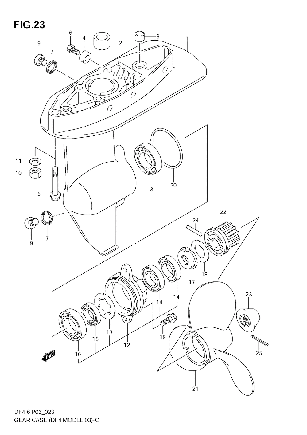
| № | Наименование | Примечание | Кол-во |
|---|---|---|---|
| 1 | CASEGEAR(BLACK | 1 | |
| 2 | BUSHPINION | 1 | |
| 3 | B1 20X42X12 BEA (RH) | 1 | |
| 4 | ANODEPROTECTIO (DF140T:421160~ DF140Z:421015~ ) | 1 | |
| 5 | BOLT8X50 | 2 | |
| 6 | BOLT6X14 (DF140T:421160~ DF140Z:421015~ ) | 1 | |
| 7 | GASKET DRAIN P (0010 per pack) | 2 | |
| 8 | (TYPE:L) | 1 | |
| 9 | PLUGDRAIN10X7 (OIL DRAIN) | 2 | |
| 10 | NUT (TYPE:L) | 2 | |
| 11 | WASHER | 2 | |
| 12 | HSNGPROP SHAFT | 1 | |
| 13 | WASHER LOCK | 1 | |
| 14 | SEALOIL12X24X | 2 | |
| 15 | B1 12X28X8 BEAR | 1 | |
| 17 | PROTECTOR OIL S | 1 | |
| 18 | WASHER PROTECTO | 1 | |
| 19 | BOLT6X15 | 2 | |
| 20 | O RING | 1 | |
| 21-1 | PROPELLER(3X7-1 | 1 | |
| 21-2 | PROPELLER(3X7-1 | 1 | |
| 21-3 | PROPELLER | 1 | |
| 22 | BUSHINGPROPELL | 1 | |
| 23 | NUT COMPPROPEL (->58130-91J00) | 1 | |
| 24 | PINSHEAR (DF4 MODEL:03) (0010 per pack) | 1 | |
| 25 | COTTER PINPROP | 1 |
