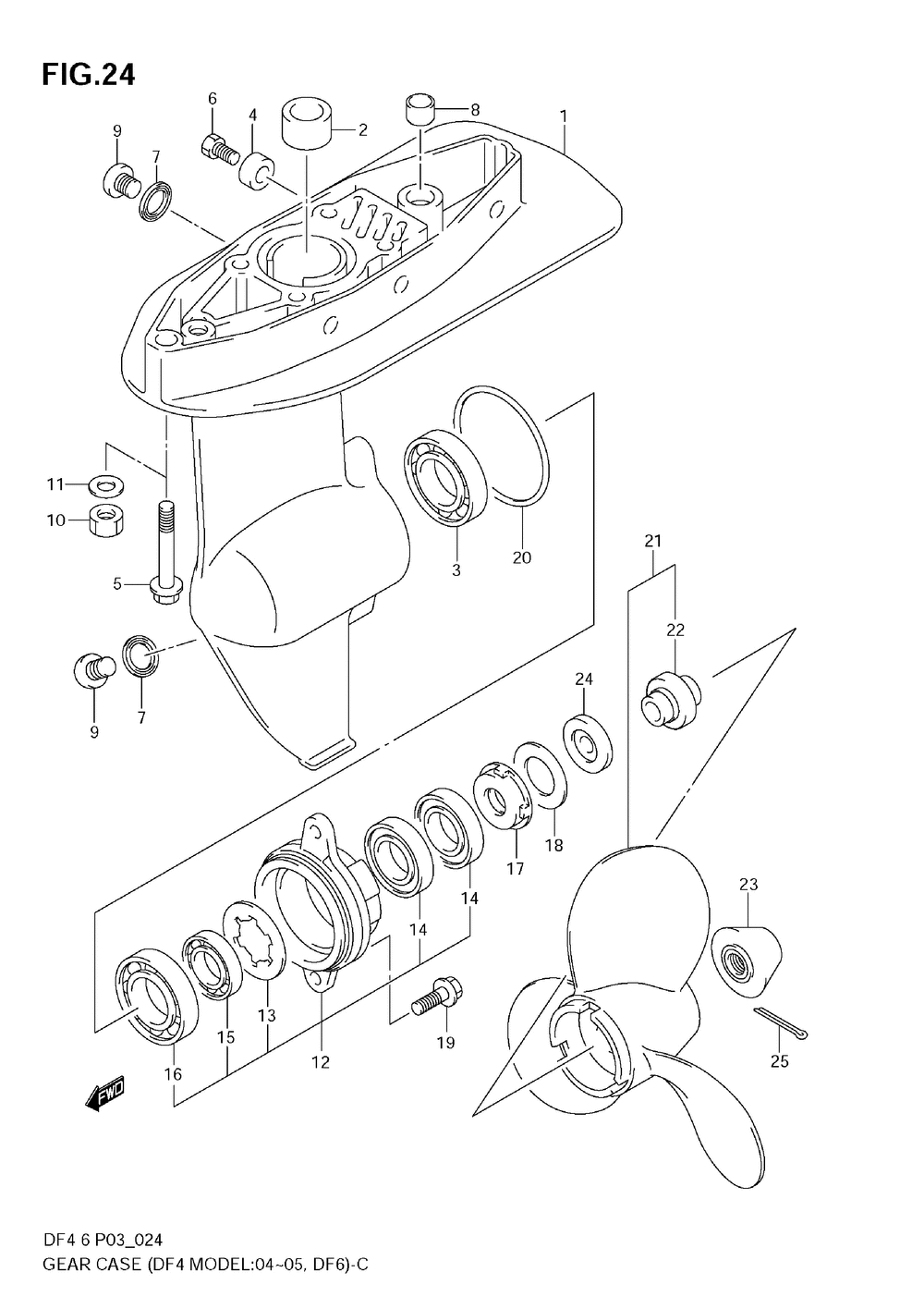
GEAR CASE (DF4 MODEL:04~DF6)

Корзина пуста