| № | Наименование | Примечание | Кол-во |
|---|---|---|---|
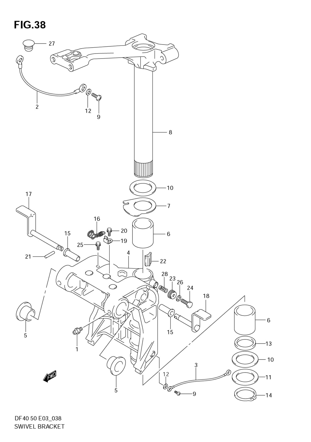
| 1 | NIPPLEGREASE | 3 | |
| 2 | LEADCLAMP TO S | 1 | |
| 3 | LEAD SWIVEL | 1 | |
| 4-1 | BRACKETSWIVEL | 1 | |
| 4-2 | Детать | 1 | |
| 4-4 | (DF40:510125~DF50:510266~) | 1 | |
| 5-1 | BUSHSWIVEL BRA | 2 | |
| 5-2 | BUSHSWIVEL BRA (DF40:422640~DF50:424410~) | 2 | |
| 6 | BUSH STEERING | 2 | |
| 7 | PLATESTEERING | 1 | |
| 8-1 | BRACKETSTEERIN | 1 | |
| 8-2 | BRACKETSTEERIN | 1 | |
| 8-3 | BRACKETSTEERIN | 1 | |
| 9 | SCREW 5X8 | 3 | |
| 10 | WASHER | 2 | |
| 11 | WASHER | 2 | |
| 12 | WASHER | 3 | |
| 13 | OIL SEAL 39X51X | 1 | |
| 14 | CIRCLIP | 1 | |
| 15 | BUSH TILT LOCK | 2 | |
| 16 | SPRINGTILT LOC | 1 | |
| 17-1 | LEVER SETTILT | 1 | |
| 17-2 | LEVERTILT LOCK (DF40:151239~DF50:151546~) | 1 | |
| 18-1 | Детать | 1 | |
| 18-2 | LEVERTILT LOCK (DF40:151239~DF50:151546~) | 1 | |
| 19 | BRACKETSPRING | 1 | |
| 20 | BOLT6X15 | 1 | |
| 21 | PINL:16 | 1 | |
| 22 | ADJUSTERSTEERI | 1 | |
| 23 | COVER ADJUST | 1 | |
| 24 | Детать | 1 | |
| 25 | BOLT 6X12 | 1 | |
| 26 | WASHER | 1 | |
| 27 | MUFF FIT HOLE P | 1 | |
| 28 | SPRING | 1 |
