| № | Наименование | Примечание | Кол-во |
|---|---|---|---|
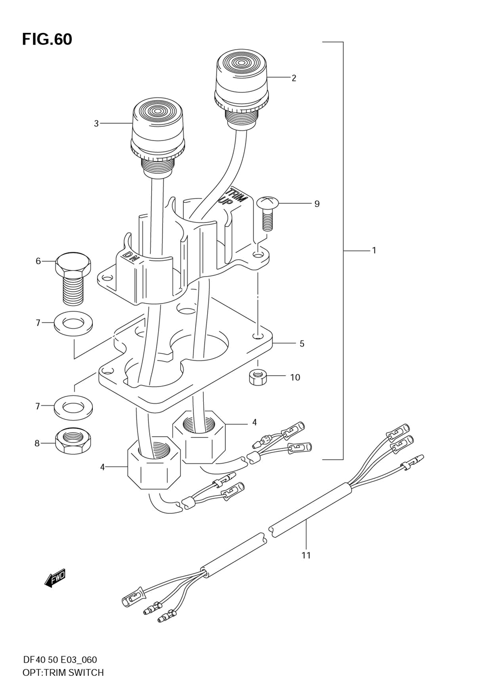
| 1-1 | (L:220NOT FOR U.S.MARKET) | 1 | |
| 1-2 | (L:5000) | 1 | |
| 2 | TRIM SWITCHUP | 1 | |
| 3 | TRIM SWITCH DN | 1 | |
| 4 | NUT 10MM | 2 | |
| 5 | Детать | 1 | |
| 6 | BOLT | 2 | |
| 7 | WASHER | 4 | |
| 8 | NUT 8MM | 2 | |
| 9 | SCREW 4X12 CROS | 2 | |
| 10 | NUT | 2 | |
| 11 | Детать | 1 |
| Корзина пуста |
| № | Наименование | Примечание | Кол-во |
|---|---|---|---|
| 1-1 | (L:220NOT FOR U.S.MARKET) | 1 | |
| 1-2 | (L:5000) | 1 | |
| 2 | TRIM SWITCHUP | 1 | |
| 3 | TRIM SWITCH DN | 1 | |
| 4 | NUT 10MM | 2 | |
| 5 | Детать | 1 | |
| 6 | BOLT | 2 | |
| 7 | WASHER | 4 | |
| 8 | NUT 8MM | 2 | |
| 9 | SCREW 4X12 CROS | 2 | |
| 10 | NUT | 2 | |
| 11 | Детать | 1 |