| № | Наименование | Примечание | Кол-во |
|---|---|---|---|
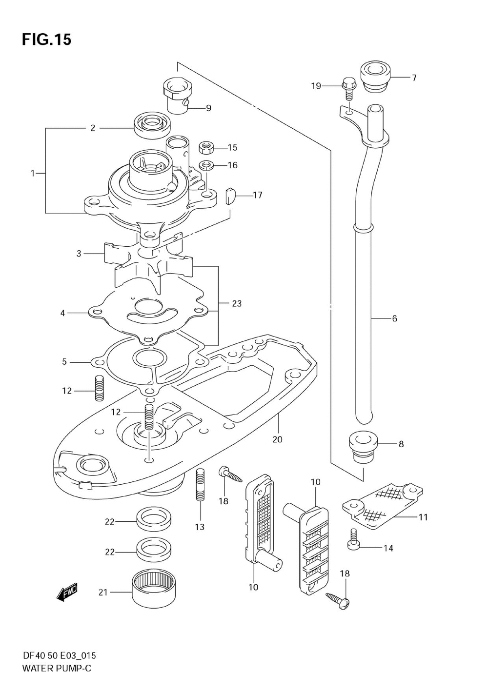
| 1-1 | CASEWATER PUMP | 1 | |
| 1-2 | CASEWATER PUMP (DF40:422328~DF50:423475~) | 1 | |
| 2 | SEAL (DF40:~422327DF50:~423474) | 1 | |
| 3 | IMPELLER WATER | 1 | |
| 4 | PANELPUMP CASE | 1 | |
| 5 | GASKETPUMP CAS | 1 | |
| 6-1 | Детать | 1 | |
| 6-2 | TUBEWATER (L) | 1 | |
| 7 | GROMMET WATER T | 1 | |
| 8 | GROMMET WATER T | 1 | |
| 9 | GROMMET WATER T | 1 | |
| 10 | FILTERWATER | 2 | |
| 11-1 | FILTERWATER SU | 1 | |
| 11-2 | PLATEGEAR CASE | 1 | |
| 12 | BOLT STUD | 2 | |
| 13 | BOLT STUD | 2 | |
| 14 | SCREW | 2 | |
| 15 | NUT | 4 | |
| 16 | WASHER (OPT) | 4 | |
| 17 | KEY IMPELLER | 1 | |
| 18 | SCREW 4 X 30 | 2 | |
| 19 | BOLT6X15 | 1 | |
| 20-1 | HOUSING COMPDR | 1 | |
| 20-2 | HOUSINGDRIVE S (DF40:510001~510209DF50:510001~510465) | 1 | |
| 21-1 | RN 25X33X15 BRG (MODEL:99~04DF40:510210~DF50:510466~) | 1 | |
| 22 | OIL SEAL | 2 | |
| 23 | KITWATER PUMP (OPTREF.NO34517) | 1 |
