| № | Наименование | Примечание | Кол-во |
|---|---|---|---|
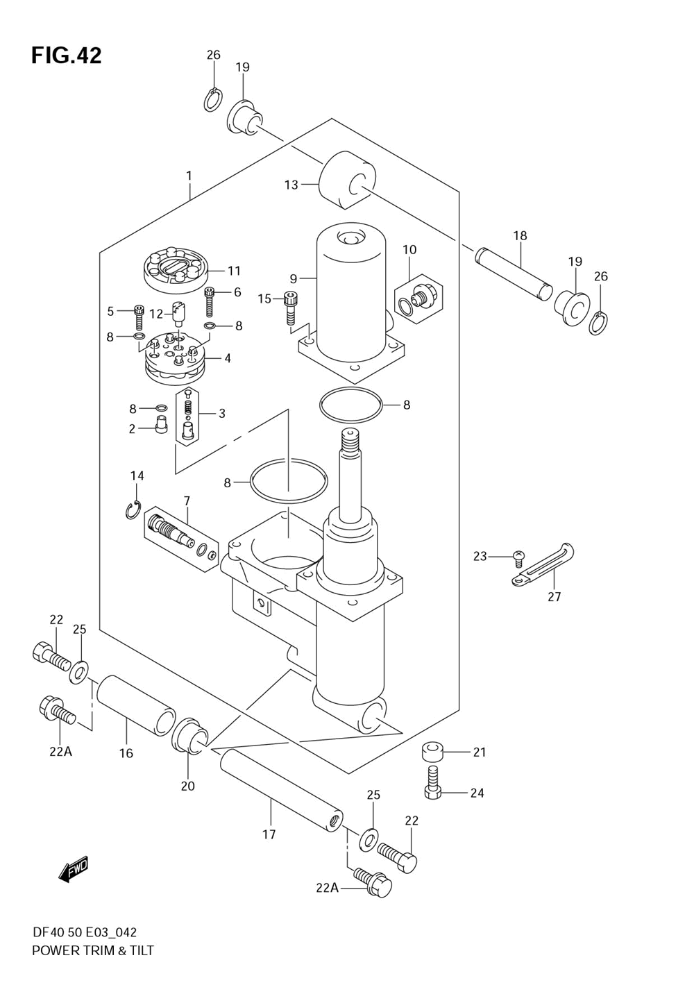
| 1-1 | TRIM ASSYPOWER | 1 | |
| 1-2 | TRIM ASSYPOWER | 1 | |
| 1-3 | TRIM ASSYPOWER | 1 | |
| 2 | VALVEUPPER PRE | 1 | |
| 3 | VALVEDOWN PRES | 1 | |
| 4 | PUMP ASSYGEAR | 1 | |
| 5 | Детать | 2 | |
| 6 | Детать | 1 | |
| 7 | VALVEMANUAL | 1 | |
| 8 | O-RING SET | 1 | |
| 9-1 | TANKRESERVOIR | 1 | |
| 10 | PLUG | 1 | |
| 11 | FILTER | 1 | |
| 12 | JOINTDRIVE | 1 | |
| 13 | Детать | 1 | |
| 14 | CIRCLIP | 1 | |
| 15 | BOLTRESERVOIR | 4 | |
| 16 | Детать | 1 | |
| 17 | SHAFTCYLINDER | 1 | |
| 18 | SHAFTTILT CYLI | 1 | |
| 19 | BUSHTILT CYL U | 2 | |
| 20 | BUSHTILT CYLIN | 1 | |
| 21 | ANODEPROTECTIO (DF140T:421160~ DF140Z:421015~ ) | 1 | |
| 22 | BOLT | 2 | |
| 22A | BOLT 10X35 | 2 | |
| 23 | SCREW 6X10 (SUS | 1 | |
| 24-1 | BOLT6X14 (DF140T:421160~ DF140Z:421015~ ) | 1 | |
| 24-2 | BOLTPROTECTION | 1 | |
| 25 | WASHER | 2 | |
| 26 | SNAP RING | 2 | |
| 27 | CLAMP | 1 |
