| № | Наименование | Примечание | Кол-во |
|---|---|---|---|
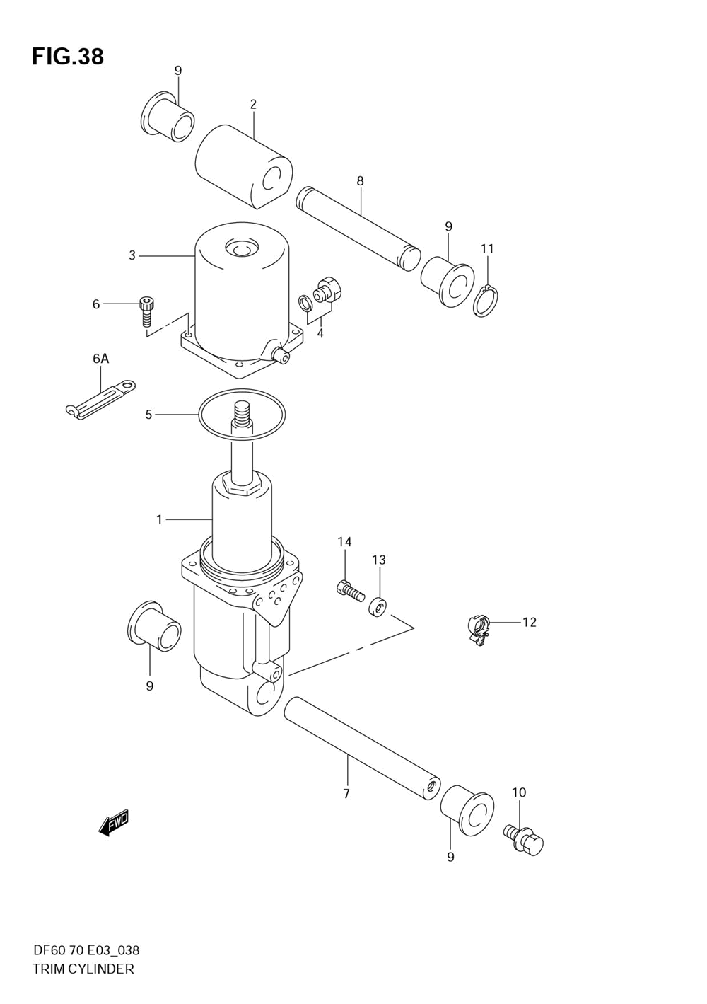
| 1 | MANIFOLD ASSY | 1 | |
| 2 | JOINT METAL | 1 | |
| 3-1 | TANKRESERVOIR | 1 | |
| 3-2 | TANKRESERVOIR | 1 | |
| 4 | PLUG | 1 | |
| 5 | O-RING SET | 1 | |
| 6 | BOLTRESERVOIR | 4 | |
| 6A | CLAMP | 1 | |
| 7 | SHAFTTILT CYL | 1 | |
| 8 | SHAFTTILT CYL | 1 | |
| 9 | BUSHTILT CYL L | 4 | |
| 10 | BOLT 10X35 | 2 | |
| 11 | CIRCLIP | 2 | |
| 12 | CLIP | 1 | |
| 13 | ANODEPROTECTIO (DF140T:421160~ DF140Z:421015~ ) | 1 | |
| 14-1 | BOLT6X14 (DF140T:421160~ DF140Z:421015~ ) | 1 | |
| 14-2 | BOLTPROTECTION | 1 |
