| № | Наименование | Примечание | Кол-во |
|---|---|---|---|
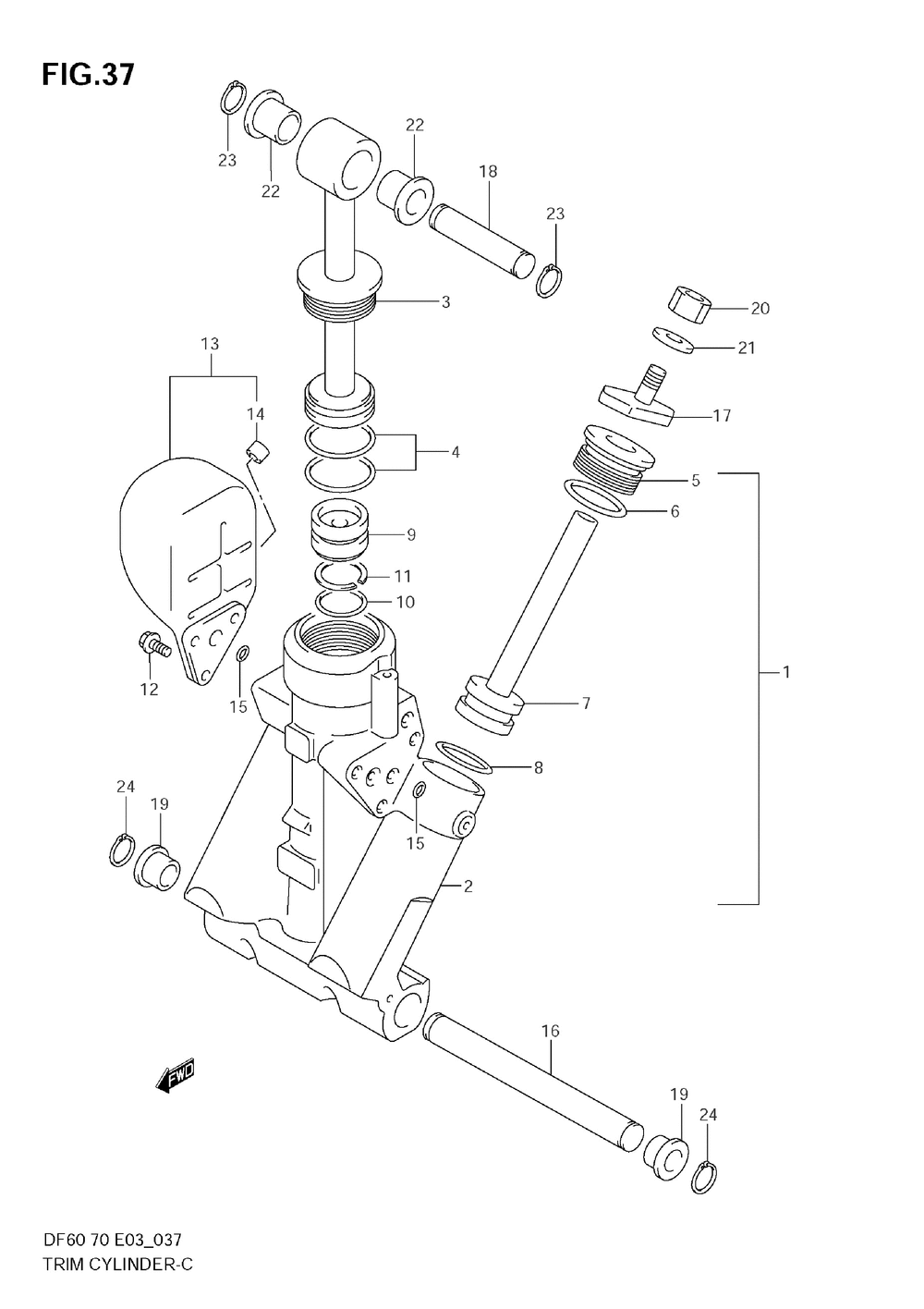
| 1 | MANIFOLD SUB AS | 1 | |
| 2 | Детать | 1 | |
| 3 | PISTON/PISTON R | 1 | |
| 4 | O RING SET | 1 | |
| 5 | HEAD TRIM CYL | 2 | |
| 6 | O RING SET HEA | 2 | |
| 7 | PISTON/RAM ASSY | 2 | |
| 9 | PISTONFREE | 1 | |
| 10 | 0-RING SET | 1 | |
| 11 | RING SET PISTO | 1 | |
| 12 | Детать | 3 | |
| 13 | RESERVOIR ASSY | 1 | |
| 14 | CAP | 1 | |
| 15 | O RING SET | 6 | |
| 16 | SHAFTTILT CYL | 1 | |
| 17 | PAD TRIM CYL RA | 2 | |
| 18 | SHAFTTILT CYL | 1 | |
| 19 | BUSHTILT CYL L | 2 | |
| 20 | NUT (TYPE:L) | 2 | |
| 21 | WASHER LOCK | 2 | |
| 22 | BUSH | 2 | |
| 23 | CIRCLIP | 2 | |
| 24 | CIRCLIP | 2 |
