| № | Наименование | Примечание | Кол-во |
|---|---|---|---|
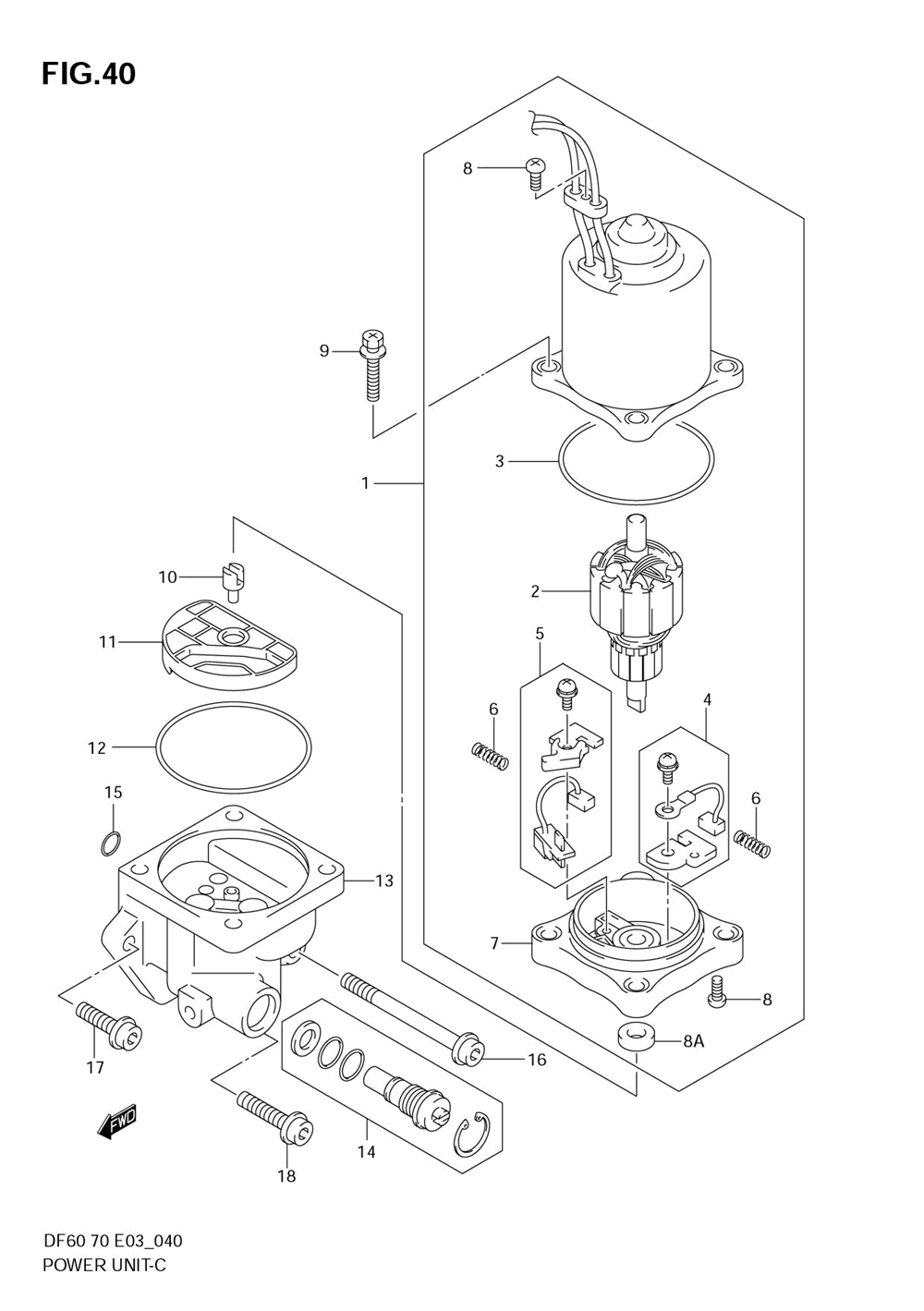
| 1-1 | MOTOR ASYPTT | 1 | |
| 1-2 | MOTOR ASSYPTT (DF60:371310~DF70:372342~) | 1 | |
| 1-4 | MOTOR ASSYPTT | 1 | |
| 2 | ARMATURE | 1 | |
| 3 | O RING | 1 | |
| 4 | BRUSH ASSY | 1 | |
| 5 | ARMATURE | 1 | |
| 6 | SPRING | 2 | |
| 7 | HOLDER ASSY BRU | 1 | |
| 8 | SCREW YOKE | 3 | |
| 8A | SEAL OIL | 1 | |
| 9 | BOLTTHROUGH | 4 | |
| 10 | JOINT DRIVE | 1 | |
| 11 | FILTER | 1 | |
| 12 | ORINGPTT | 1 | |
| 13 | PUMP ASSYPTT | 1 | |
| 14 | VALVEMANUAL | 1 | |
| 15 | O-RING SET(5 OR | 1 | |
| 16 | BOLT | 1 | |
| 17 | BOLTPUMP NO.2 | 1 | |
| 18 | BOLT | 1 |
