| № | Наименование | Примечание | Кол-во |
|---|---|---|---|
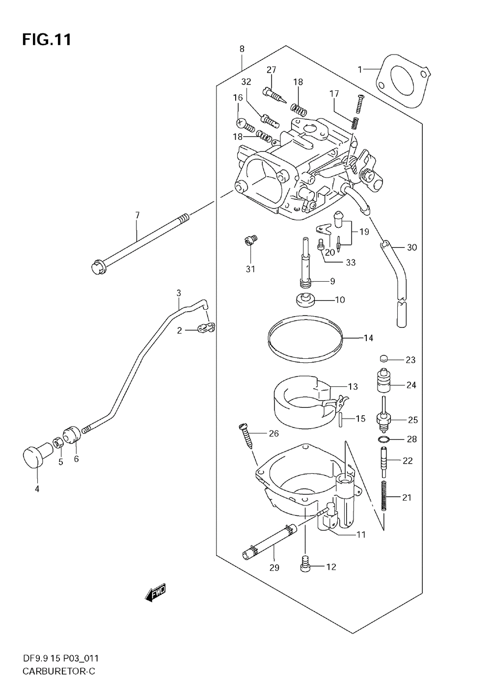
| 1 | GASKETCARBURET | 1 | |
| 2 | Детать | 1 | |
| 3 | Детать | 1 | |
| 4 | KNOBSTARTER | 1 | |
| 5 | NUT | 1 | |
| 6 | BUSH | 1 | |
| 7 | BOLT | 2 | |
| 8-1 | CARBURETOR ASSY (DF9.9) | 1 | |
| 8-2 | CARBURETOR ASSY (DF15) | 1 | |
| 9-1 | MAIN NOZZLE (DF9.9) | 1 | |
| 9-2 | NOZZLEMAIN (DF15) | 1 | |
| 10 | CAPMAIN NOZZLE | 1 | |
| 11 | CAMBER ASSYFLO | 1 | |
| 12 | Детать | 4 | |
| 13 | FLOAT | 1 | |
| 14 | GASKETFLOAT | 1 | |
| 15 | PIN CARBURETOR | 1 | |
| 16 | SCREW | 1 | |
| 17 | THROTTLE SCR SP | 1 | |
| 18 | SPRING | 2 | |
| 19 | VALVENEEDLE | 1 | |
| 20 | PLATENEEDLE VA | 1 | |
| 21 | SPRING | 1 | |
| 22 | PLUNGER | 1 | |
| 23 | CAP | 1 | |
| 24 | CAP | 1 | |
| 25 | GUIDE HOLDER | 1 | |
| 26 | ADJUSTER | 1 | |
| 27 | ADJUSTER | 1 | |
| 28 | O RING D:1.5 ID | 1 | |
| 29 | HOSE | 1 | |
| 30 | HOSE (L:600->40) | 1 | |
| 31-1 | JETMAIN (91.3) (DF9.9) | 1 | |
| 31-2 | M/J 125 (N10221 | 1 | |
| 31-3 | (DF9.9 HIGH ALTITUDE SPEC. ) | 1 | |
| 31-4 | JETMAIN 121.3 (DF15 HIGH ALTITUDE SPEC. ) | 1 | |
| 32-1 | JETPILOT(72.5) (DF9.9) | 1 | |
| 32-2 | JETPILOT(47.5) (DF15) | 1 | |
| 32-3 | JETPILOT 70 (DF9.9 HIGH ALTITUDE SPEC. ) | 1 | |
| 32-4 | JETPILOT 46.3 (DF15 HIGH ALTITUDE SPEC. ) | 1 | |
| 33 | SCREW | 1 |
