| № | Наименование | Примечание | Кол-во |
|---|---|---|---|
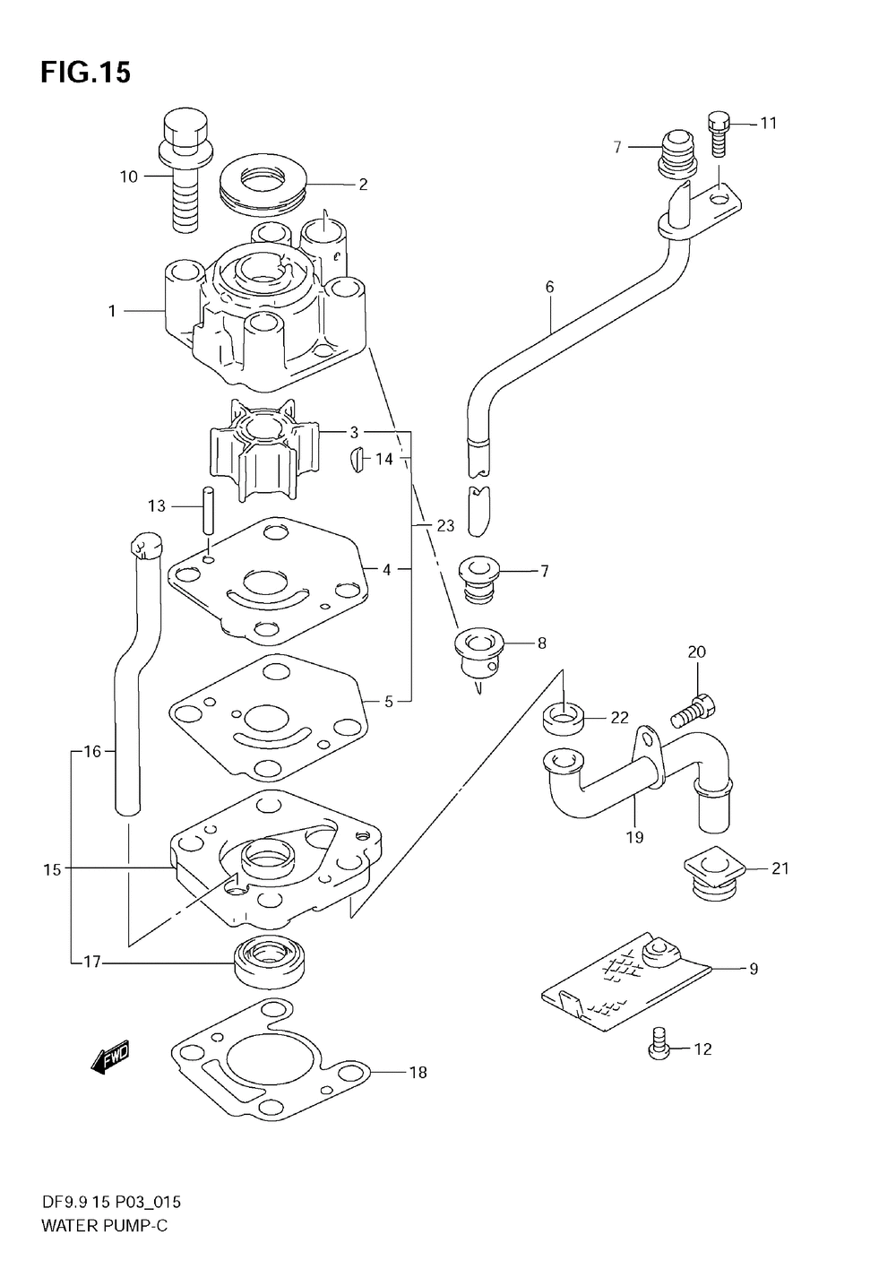
| 1 | CASEWATER PUMP | 1 | |
| 2 | GROMMETPUMP CA | 1 | |
| 3 | IMPELLERWATER | 1 | |
| 4 | PANEL CASE UNDE | 1 | |
| 5 | GASKETPUMP CAS | 1 | |
| 6-1 | TUBEWATER (S) | 1 | |
| 6-2 | TUBEWATER (L) | 1 | |
| 7 | GROMMETWATER T | 2 | |
| 8 | BUSH (<-17564-94J00) | 1 | |
| 9 | FILTERWATER | 1 | |
| 10 | BOLT(8X55) | 4 | |
| 11 | BOLT6X15 | 1 | |
| 12 | SCREW 6X10 (SUS | 1 | |
| 13 | PIN | 2 | |
| 14 | KEY | 1 | |
| 15 | HOUSING COMPWA | 1 | |
| 16 | DRAINWATER INL (<-17453-94J00) | 1 | |
| 17 | OIL SEAL | 1 | |
| 18 | GASKETWATER IN | 1 | |
| 19 | TUBE COMPWATER | 1 | |
| 20 | BOLT | 1 | |
| 21 | GROMWATER INLE | 1 | |
| 22 | GROMWATER INLE | 1 | |
| 23 | W.P.KITDF9.9/15 (OPT REFER TO FIG.16(D- 3) FOR MODEL:07~ ) | 1 |
