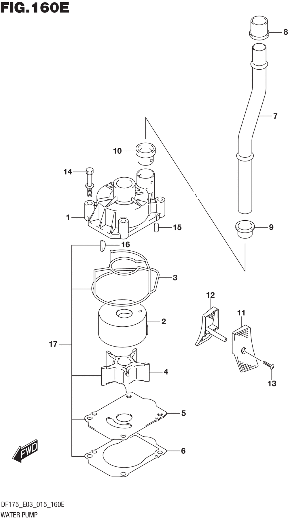
WATER PUMP (DF175T E03)

Корзина пуста