| № | Наименование | Примечание | Кол-во |
|---|---|---|---|
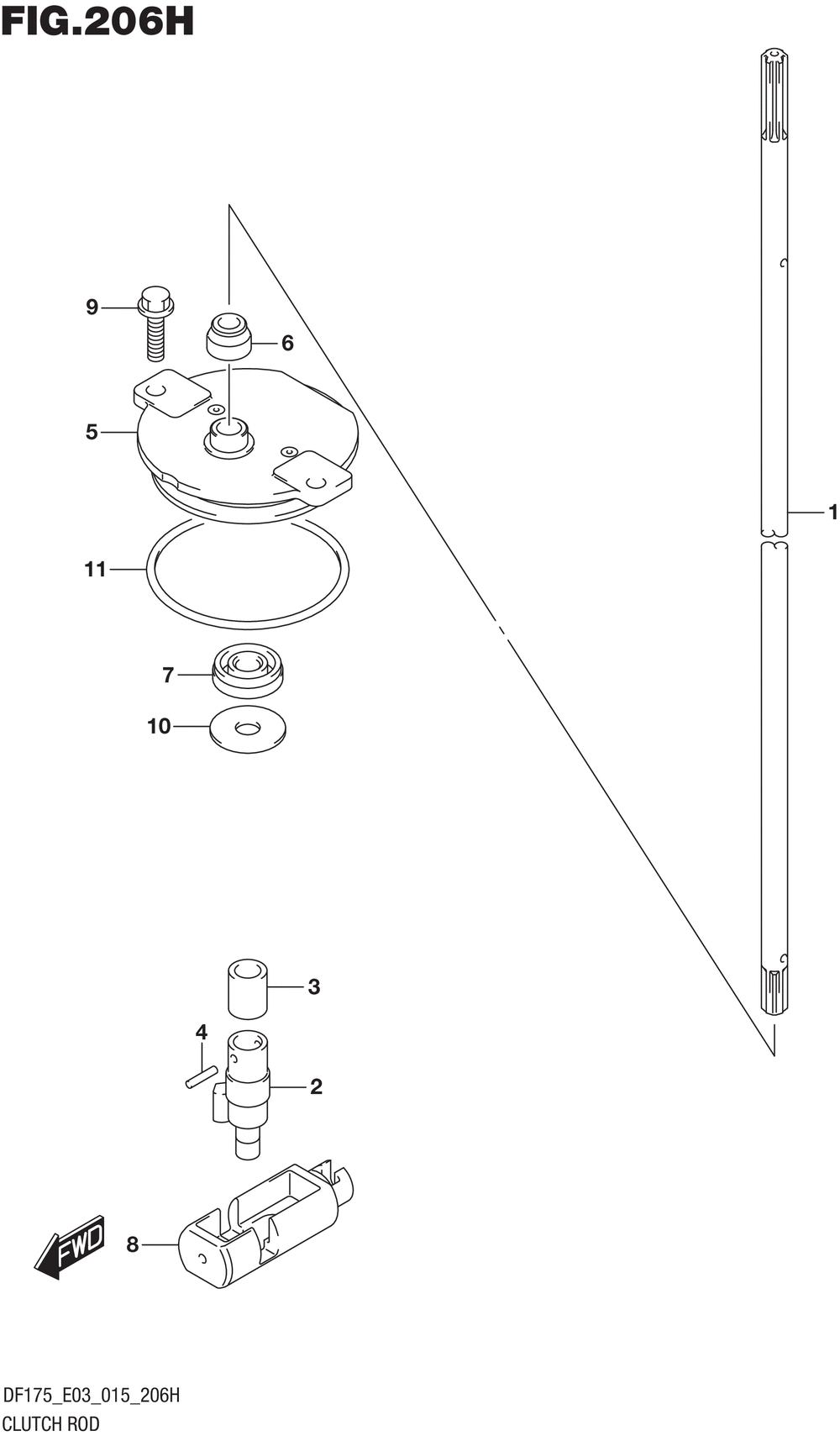
| 1-1 | RODSHIFT (L) (W/TRANSOM(L)) | 1 | |
| 1-2 | RODSHIFT (X) (W/TRANSOM(X)) | 1 | |
| 2 | YOKESHIFTER | 1 | |
| 3-1 | MAGNETGEAR CAS | 1 | |
| 4 | PIN | 2 | |
| 5 | HOUSINGSHIFT R | 1 | |
| 6 | SEALSHIFT ROD | 1 | |
| 7 | SEALS/ROD GUI | 1 | |
| 8 | SLIDERSHIFT HO | 1 | |
| 9 | BOLT | 2 | |
| 10 | WASHER8.5X26X1 | 1 | |
| 11 | O-RINGSHI HSG( | 1 |
