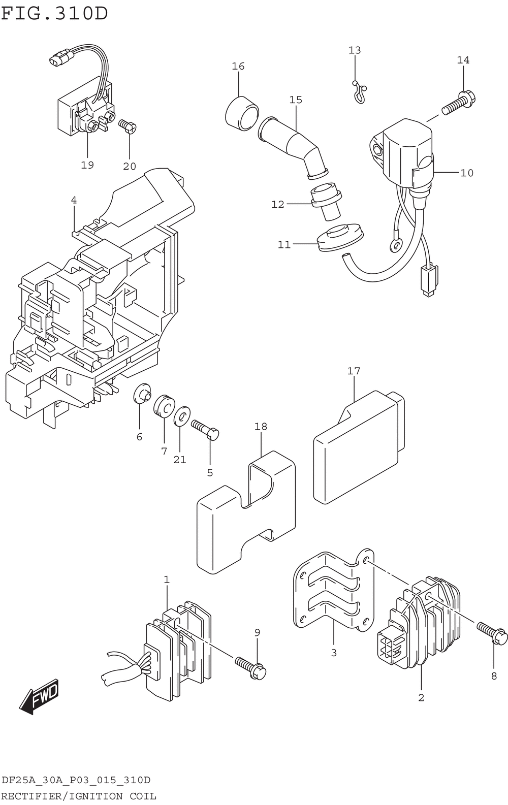
| № | Наименование | Примечание | Кол-во |
|---|---|---|---|
| 1 | RECTIFIER & REG | 1 | |
| 2 | RECTIFIER & REG | 1 | |
| 3 | BRACKETRECTIFI | 1 | |
| 4 | HOLDERELECTRIC | 1 | |
| 5 | BOLT | 3 | |
| 6 | WASHER | 3 | |
| 7 | CUSHION | 3 | |
| 9 | BOLT | 2 | |
| 10 | COILIGNITION | 3 | |
| 11 | PROTECTORHIGH | 3 | |
| 12 | SEALHIGH TENSI | 3 | |
| 13 | Детать | 2 | |
| 15 | CAP ASSY SPARK PLUG | 3 | |
| 16 | SEALSPARK PLUG | 3 | |
| 17 | UNITENGINE CON | 1 | |
| 18 | CUSHIONENGINE | 1 | |
| 19 | RELAY ASSYSTAR | 1 | |
| 20 | SCREW (6X8) | 2 | |
| 21 | WASHER (0010 per pack) | 3 |
