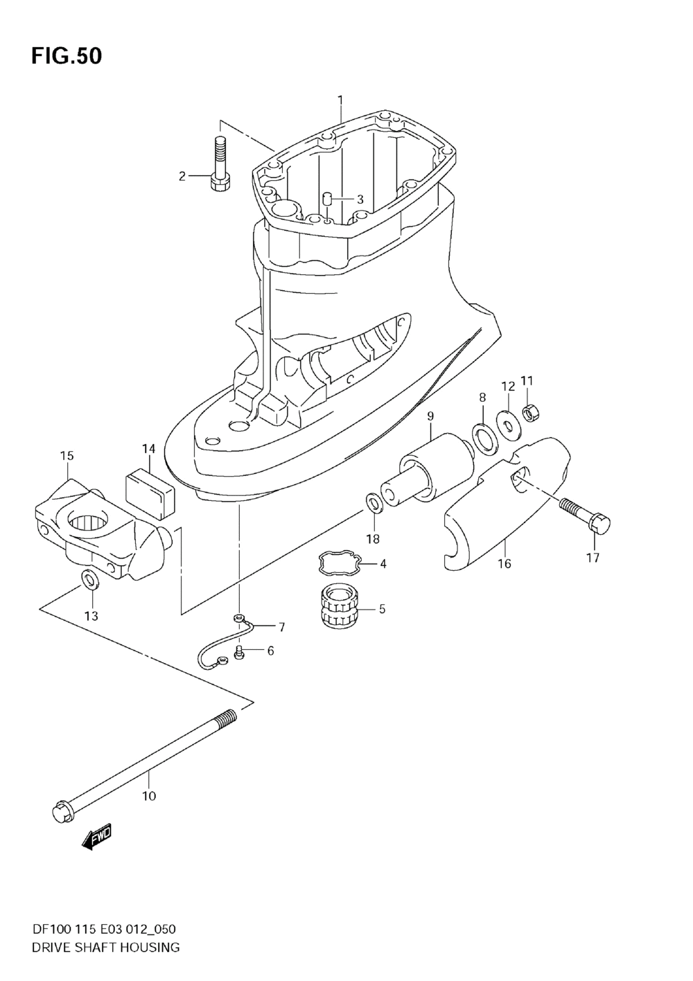
| № | Наименование | Примечание | Кол-во |
|---|---|---|---|
| 1 | HOUSINGDRIVE S (TYPE:TZ (BLACK) ) | 1 | |
| 2 | BOLT10X45 | 8 | |
| 3 | PIN | 2 | |
| 4 | SET RING (SUS) | 1 | |
| 5 | BUSHDRIVE SHAF | 1 | |
| 6 | SCREW 6X10 (SUS | 2 | |
| 7 | LEAD SWIVEL | 1 | |
| 8 | STOPPERUPPER T | 2 | |
| 9 | MOUNTLOWER | 2 | |
| 10 | BOLTLOWER MOUN (<-09100-12079) | 2 | |
| 11 | NUT (W/TRANSOM(XX)) | 2 | |
| 12 | WASHER12X40X3. (<-09160-12065) | 2 | |
| 13 | WASHERLWR MT B | 2 | |
| 14 | MOUNTLOWER THR | 1 | |
| 15 | BRACKETLOWER M | 1 | |
| 16 | COVERLOWER MOU | 2 | |
| 18 | WASHER12.5X30X (<-09160-12098) | 2 |
