| № | Наименование | Примечание | Кол-во |
|---|---|---|---|
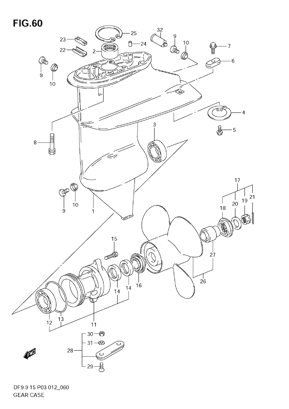
| 1 | CASE ASSYGEAR (MODEL:07~09) | 1 | |
| 2 | RN 21X15X12 BRG | 2 | |
| 3 | B1 25X52X15 BEA | 1 | |
| 4 | ZINC PROTECTION | 1 | |
| 5 | BOLT6X15 | 1 | |
| 6 | ZINCPROTECTION | 1 | |
| 8 | BOLT 8X30 | 4 | |
| 9 | PLUGDRAIN10X7 (OIL DRAIN) | 3 | |
| 10 | GASKET DRAIN P (0010 per pack) | 3 | |
| 11 | HOUSINGPROP SH | 1 | |
| 12 | B1 25X47X12 BEA | 1 | |
| 13 | O RING (D:3.5ID:65.2) | 1 | |
| 14 | SEALOIL17X30X | 2 | |
| 15 | BOLT | 2 | |
| 16 | STOPPERPROPELL | 1 | |
| 17 | HDWR9.9/15C/DF9 (OPT) | 1 | |
| 18 | SPACERPROPELLE | 1 | |
| 19 | NUT | 1 | |
| 20 | WASHER | 1 | |
| 21 | PIN | 1 | |
| 22 | CORE EXHAUST SE | 1 | |
| 23 | RUBBEREXHAUST (<-55332-94J00) | 1 | |
| 24 | PIN | 2 | |
| 25 | CIRCLIP ( THIS MODEL. PART NUMBER 99104-BRGKT-034 ) | 1 | |
| 26 | PROP 9.9T 4X10X (DF9.9T/TH) | 1 | |
| 27 | BUSH COMPPROPE (DF9.9T/TH) | 1 | |
| 28 | ZINC ASSY PROTE (OPT) | 1 | |
| 29 | SCREW | 2 | |
| 30 | NUT | 2 | |
| 31 | WASHER (OPT) | 2 | |
| 32 | FLUSH ATTACHMEN (OPT) | 1 |
