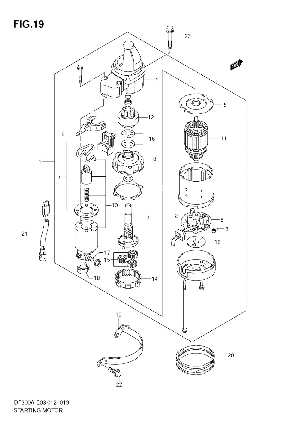
| № | Наименование | Примечание | Кол-во |
|---|---|---|---|
| 1 | MOTOR ASSYSTAR (<-31100-93J00) | 1 | |
| 2 | BRUSH SETPLUS | 1 | |
| 3 | SPRING | 4 | |
| 4 | CASEGEAR (DF200T:780655~ DF250S ) | 1 | |
| 5 | Детать | 1 | |
| 6 | Детать | 1 | |
| 7 | COVER KITDUST | 1 | |
| 8 | HOLDER ASSYBRU | 1 | |
| 9 | LEVERSHIFT | 1 | |
| 10 | SWITCHMAGNET | 1 | |
| 11 | ARMATURE | 1 | |
| 12 | Детать | 1 | |
| 13 | SHAFTPINION | 1 | |
| 14 | Детать | 1 | |
| 15 | Детать | 3 | |
| 16 | WASHER SETSTOP | 1 | |
| 17 | TERMINAL | 1 | |
| 18 | CAPTERMINAL | 1 | |
| 19 | BANDSTARTER MO | 1 | |
| 20 | DAMPERLOWER | 1 | |
| 21 | LEAD WIRESTART | 1 | |
| 22 | BOLT | 2 | |
| 23 | BOLT | 2 |
