| № | Наименование | Примечание | Кол-во |
|---|---|---|---|
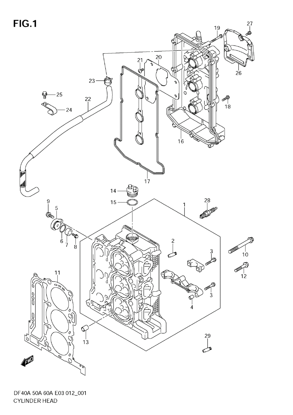
| 1 | HEAD ASSYCYLIN | 1 | |
| 2 | Направляющая втулка клапана | 12 | |
| 3 | .BOLT (6X40) | 17 | |
| 4 | COVER DOWEL PIN | 14 | |
| 5 | COVERPROTCTION | 2 | |
| 6 | O-RINGD:1.9ID | 2 | |
| 7-1 | ANODEPROTECTIO (DF140T:421160~ DF140Z:421015~ ) | 2 | |
| 7-2 | MAGNESIUM ANODE (OPT) | 1 | |
| 8 | BOLTPROTECTION | 2 | |
| 9 | BOLT | 2 | |
| 10 | BOLTCYLINDER H | 8 | |
| 11 | GASKETCYLINDER | 1 | |
| 12 | BOLT | 4 | |
| 13 | PIN | 2 | |
| 14 | CAPOIL FILLER | 1 | |
| 15 | O RING D:3.1 ID | 1 | |
| 16 | COVERCYLINDER | 1 | |
| 17 | GASKETCYLINDER | 1 | |
| 18 | BOLT 6X25 | 9 | |
| 19 | BOLT 6X45 | 3 | |
| 20 | PLATEBREATHER | 1 | |
| 21 | SCREW | 4 | |
| 22 | HOSEBREATHER | 1 | |
| 23 | CLIP | 1 | |
| 24 | (DF200T:~780052 DF250Z:~780029 ) | 2 | |
| 25 | BOLT | 2 | |
| 26 | GUARDFUEL HOSE | 1 | |
| 27 | BOLT | 2 | |
| 28 | Свеча зажигания | 3 |
