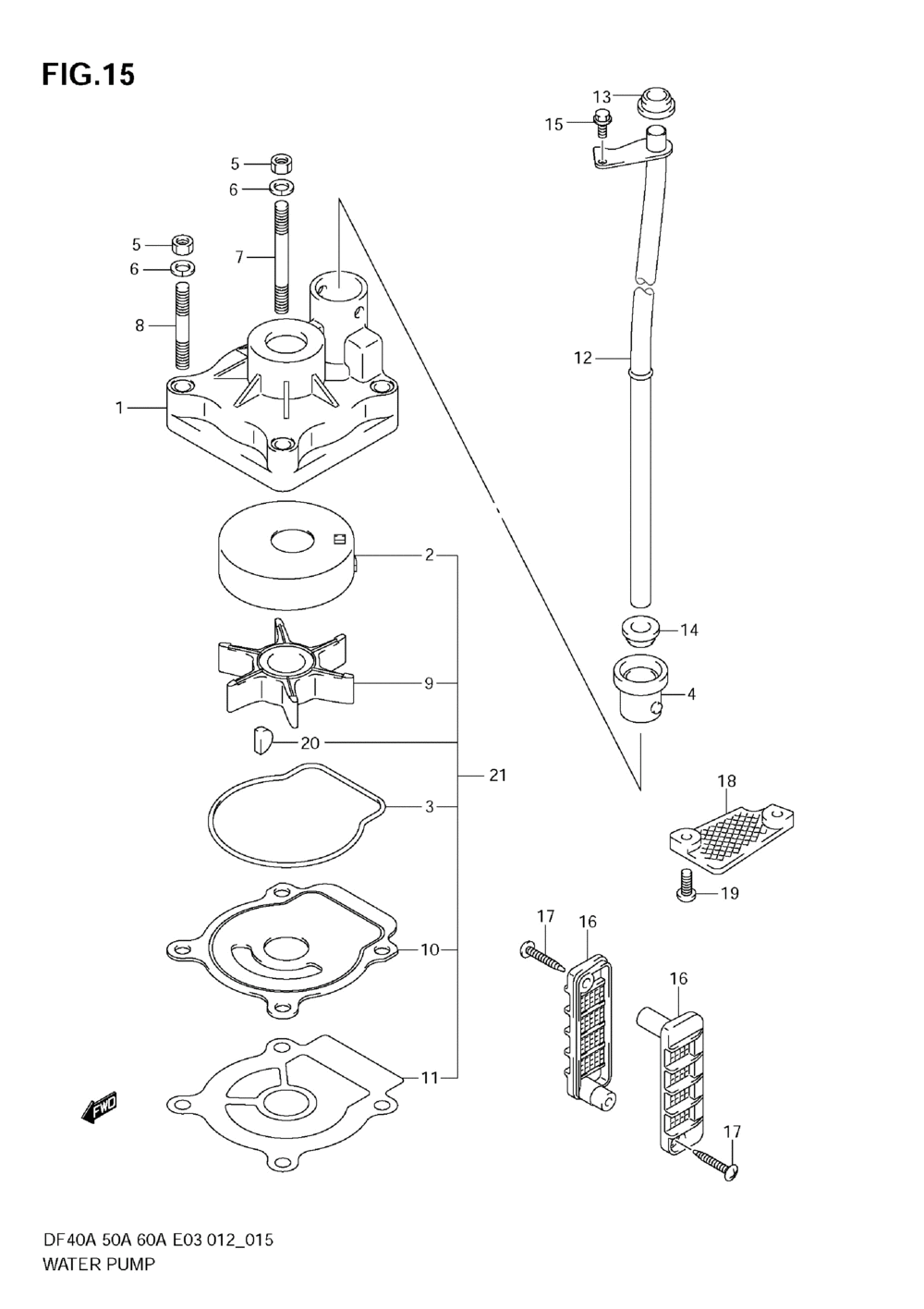
| № | Наименование | Примечание | Кол-во |
|---|---|---|---|
| 1 | CASEWATER PUMP | 1 | |
| 2 | SLEEVEWATER PU | 1 | |
| 3 | SEALINGWATER P | 1 | |
| 4 | BUSHWATER PUMP | 1 | |
| 5 | NUT | 4 | |
| 6 | WASHER (OPT) | 4 | |
| 7 | BOLTSTUD | 2 | |
| 8 | BOLTSTUD | 2 | |
| 9 | IMPELLER WATER | 1 | |
| 10 | PANELPUMP CASE | 1 | |
| 11 | GASKETPUMP CAS | 1 | |
| 12 | TUBEWATER(L) | 1 | |
| 13 | BUSHWATER TUBE | 1 | |
| 15 | BOLT6X15 | 1 | |
| 16 | FILTERWATER | 2 | |
| 17 | SCREW 4 X 30 | 2 | |
| 18-1 | FILTERWATER SU | 1 | |
| 18-2 | PLATEGEAR CASE | 1 | |
| 19 | SCREW | 2 | |
| 20 | KEY IMPELLER | 1 | |
| 21 | W.P. KIT DF40A5 (OPT) | 1 |
