| № | Наименование | Примечание | Кол-во |
|---|---|---|---|
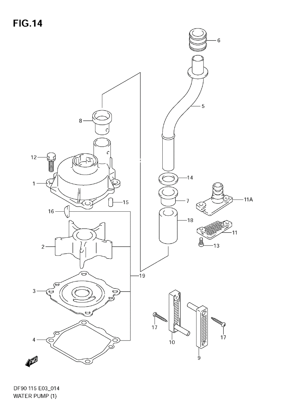
| 1 | WATER PUMP CASE (->17400-90810 WATER PUMP CASE SET ) | 1 | |
| 2 | IMPELLERWATER | 1 | |
| 3 | PANELPUMP CASE | 1 | |
| 4 | GASKETPUMP CAS | 1 | |
| 5-1 | TUBEWATER (L) (DF140T) | 1 | |
| 5-2 | TUBEWATER (X) (DF140T140Z) | 1 | |
| 6 | BUSHWATER TUBE | 1 | |
| 7 | BUSHWATER TUBE | 1 | |
| 8 | BUSHWATER PUMP | 1 | |
| 9 | FILTER WATER P | 1 | |
| 10 | FILTER WATER S | 1 | |
| 11 | FILTERWATER SU | 1 | |
| 11A | PLUGSUB WATER (DF140T:376160~ DF140Z:371393~ ) | 1 | |
| 12 | BOLT8X25 | 4 | |
| 13 | SCREW | 2 | |
| 14 | WASHER | 1 | |
| 15 | PIN | 2 | |
| 16 | KEYWATER PUMP | 1 | |
| 17-1 | SCREW 4X30 | 2 | |
| 17-2 | SCREW4X18 (W/TRANSOM(L)W/TRANSOM(X)) | 2 | |
| 18 | SPACERWATER TU | 1 | |
| 19 | W.P.KITDF901151 (OPT DF140Z:680234~ ) | 1 |
